| № | Наименование | Примечание | Кол-во |
|---|---|---|---|
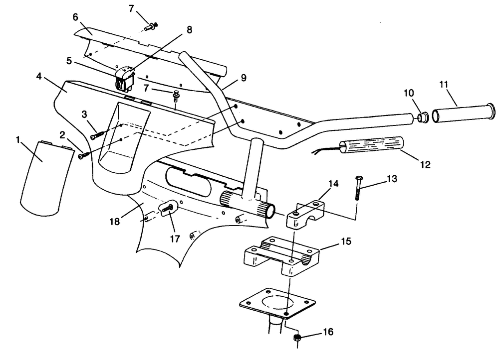
| 3 | SCREW(10) * (10 per pack) | 2 | |
| 4 | COVERH'BARUPPER | 1 | |
| 5 | SWITCHH'BARHI/LO | 1 | |
| 5 | SWITCHTHUMBWARMER | 1 | |
| 7 | RIVETPLASTI-LOCK(50) * (50 per pack) | 8 | |
| 9 | HANDLEBARADJBLK. | 1 | |
| 10 | CAPLUG | 2 | |
| 11 | GRIPHANDLEBAR | 2 | |
| 12 | GRIP-HEATER ASMHI/LO | 2 | |
| 15 | BLOCKHANDLEBARBLK | 1 | |
| 16 | NUT-NYLOK(10) (10 per pack) | 4 | |
| 17 | SCREW(10) (10 per pack) | 4 |
