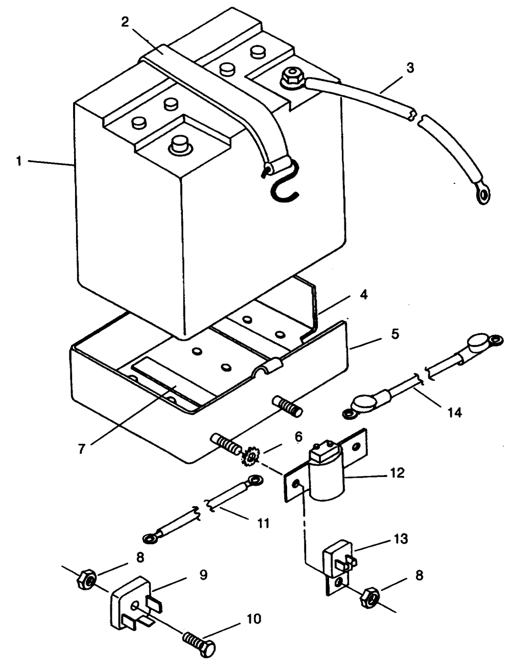
| № | Наименование | Примечание | Кол-во |
|---|---|---|---|
| 1 | BATTERY 195 CCA (2) (2 per pack) | 1 | |
| 3 | CABLESTARTERRED | 1 | |
| 4 | RIVET(50) * (50 per pack) | 6 | |
| 5 | BOXBATTERYBLK. | 1 | |
| 6 | WASHER(10) (10 per pack) | 2 | |
| 8 | NUT NYLOK 10-24 Y | 3 | |
| 10 | SCREW(10) (10 per pack) | 1 | |
| 11 | CABLE-ELECT6GA15" W/TERMBLK | 1 | |
| 12 | SWITCH-MAGNETIC [Incl. 23] | 1 | |
| 13 | BREAKERCIRCUIT | 1 | |
| 14 | CABLE20.5''BLKSTARTER | 1 |
