| № | Наименование | Примечание | Кол-во |
|---|---|---|---|
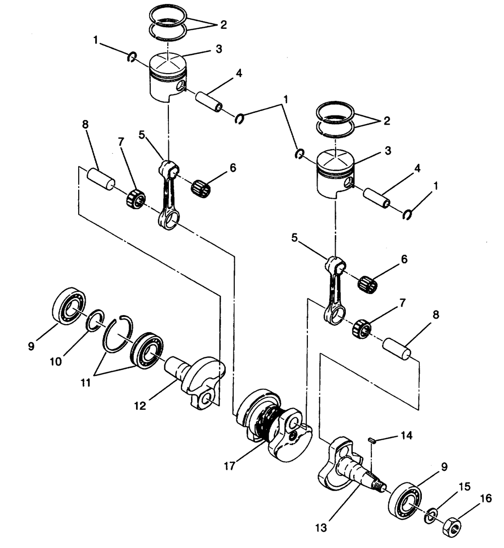
| 1 | CLIPPISTON PIN(10) (10 per pack) | 4 | |
| 2 | SET-PISTONRINGSTANDARD | 2 | |
| 2 | SET-PISTONRING.020"/.50MM O/S | 2 | |
| 2 | SETPISTONRING.010"/.25MM O/S | 2 | |
| 3 | PISTONSTANDARD * (Standard) | 2 | |
| 3 | PISTON.010"/.25MM O/S (.25mm/.010" O/S) | 2 | |
| 3 | PISTON.020"/.50MM O/S (.50mm/.020" O/S) | 2 | |
| 4 | PIN PISTON | 2 | |
| 5 | ROD CONNECTING | 2 | |
| 6 | BEARINGSMALL END * | 2 | |
| 7 | BEARING LARGE END | 2 | |
| 8 | PIN CRANK | 2 | |
| 9 | BEARING BALL * | 2 | |
| 10 | SPACER | 1 | |
| 11 | BEARINGBALL | 1 | |
| 12 | CRANKSHAFT tahos_3 | 1 | |
| 13 | CRANKSHAFT [Incl. 6-14] | 1 | |
| 13 | CRANKSHAFT tahos_1 | 1 | |
| 14 | KEY | 1 | |
| 15 | WASHER-SPRING(10) (10 per pack) | 1 | |
| 16 | NUT | 1 | |
| 17 | ASM. CRANKSHAFT tahos_2 [Incl. 8] | 1 |
