| № | Наименование | Примечание | Кол-во |
|---|---|---|---|
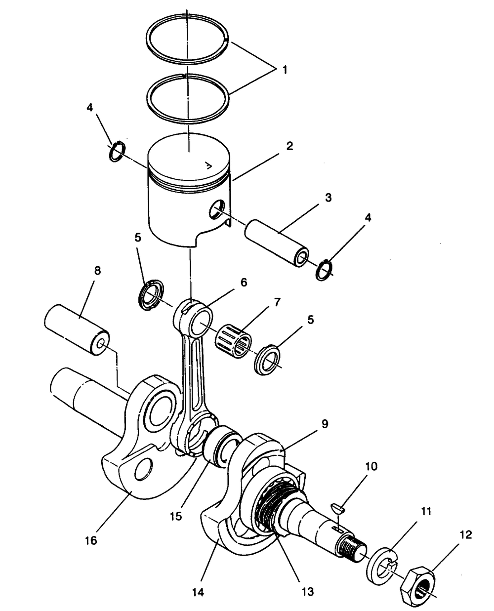
| 1 | PISTONRINGSTANDARD (2) (.020 Oversize) (2 per pack) | 2 | |
| 2 | PISTON (Standard) | 1 | |
| 3 | PIN PISTON | 1 | |
| 4 | CLIPPISTON PIN(10) (10 per pack) | 2 | |
| 5 | SPACER PISTON PIN | 2 | |
| 6 | ROD CONNECTING * | 1 | |
| 7 | BEARING | 1 | |
| 8 | CRANK PIN PTO | 1 | |
| 9 | BEARING BALL * | 1 | |
| 10 | KEY WOODRUFF | 1 | |
| 13 | GEAR CRANKSHAFT | 1 | |
| 14 | CRANKSHAFT (Incl. 6 8 9 13-16) | 1 | |
| 14 | CRANKSHAFT tahos_1 | 1 | |
| 15 | BEARINGLGE.END | 1 |
