| № | Наименование | Примечание | Кол-во |
|---|---|---|---|
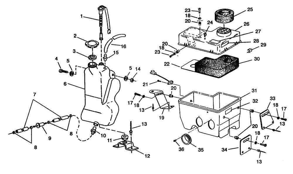
| 1 | SENSOROIL LEVELW/CONN. | 1 | |
| 2 | CAPOIL TANK | 1 | |
| 3 | GASKET-OIL CAP | 1 | |
| 4 | BOLT | 1 | |
| 5 | WASHERWROUGHT | 2 | |
| 7 | LINEFUEL1/4 ID(1525 CM.) [BULK SVC] | 0 | |
| 8 | CLAMPHOSE(10) (10 per pack) | 4 | |
| 9 | FILTERSMALLIN-LINE(10) (10 per pack) | 1 | |
| 10 | FITTING OUTLET | 1 | |
| 11 | GROMMET RUBBER | 1 | |
| 13 | RIVETINTERLOCKZ(50) * (50 per pack) | 8 | |
| 14 | NUT-NYLOK(10) (10 per pack) | 1 | |
| 15 | FITTING | 1 | |
| 16 | LINEFUEL1/8 ID600 CM. | 0 | |
| 17 | SCREW(10) * (10 per pack) | 4 | |
| 18 | WASHER(10) (10 per pack) | 7 | |
| 20 | NUT-WELL(10) * (10 per pack) | 9 | |
| 21 | SCREWTAPPING | 2 | |
| 22 | PLATEAIR SILENCER | 1 | |
| 23 | BOLT | 6 | |
| 24 | CLAMPWIRE ROUTING | 2 | |
| 25 | DUCT ASMAIR | 1 | |
| 29 | CLIP AIR BOX | 9 | |
| 33 | BRACKET SILENCER | 1 | |
| 36 | SCREWSELF-TAP | 2 |
