| № | Наименование | Примечание | Кол-во |
|---|---|---|---|
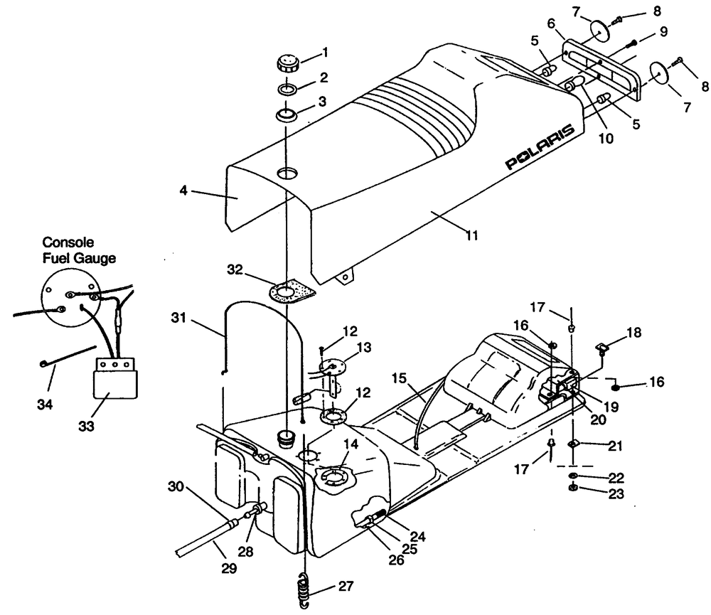
| 2 | GASKET GAS CAP | 1 | |
| 3 | GROMMETFUELTANK | 1 | |
| 4 | SEAT/TANK ASM94CLASSIC (Incl. 4-810-12151621-232530) | 1 | |
| 5 | BULBTAILLIGHT(10) (10 per pack) | 2 | |
| 9 | SCREW(10) (10 per pack) | 4 | |
| 10 | BULB | 1 | |
| 13 | SEND.UNIT | 1 | |
| 14 | FLANGE-FUEL TANK MOUNTING | 1 | |
| 16 | WASHER | 5 | |
| 17 | RIVET BLIND(50) * (50 per pack) | 5 | |
| 18 | MOUNT REAR SEAT | 2 | |
| 19 | HOUSING-TAILLIGHT | 1 | |
| 20 | COVERT/L PROTECTOR | 1 | |
| 21 | NUT SPEED | 2 | |
| 22 | WASHER FLAT(10) * (10 per pack) | 2 | |
| 23 | NUT-NYLOK(10) (10 per pack) | 2 | |
| 24 | PICK-UP-FUELW/FILTER105MICRN | 1 | |
| 25 | RING COMPRESSION | 2 | |
| 26 | LINE FUEL1/4 ID(600 CM.) | 0 | |
| 27 | SPRING(10) (10 per pack) | 1 | |
| 28 | FITTING - OUTLET | 1 | |
| 29 | FUEL HSE-5/16 DP SAE J30R9 SVC | 0 | |
| 34 | STRAP BLK | 1 |
