| № | Наименование | Примечание | Кол-во |
|---|---|---|---|
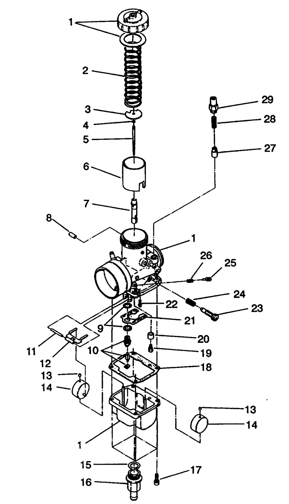
| 2 | SPRINGTHROTTLE | 1 | |
| 3 | PLATE THROTTLE | 1 | |
| 4 | E-RING(10) (10 per pack) | 1 | |
| 5 | NEEDLEJET(6F9-3) (6F9-3) | 1 | |
| 6 | VALVE THROTTLE2.5 (2.5) | 1 | |
| 8 | CAPVACUUM FIT | 1 | |
| 9 | WASHER(10) (10 per pack) | 2 | |
| 10 | VALVE ASMNEEDLE (1.5) | 1 | |
| 11 | PIN FLOAT | 1 | |
| 12 | ARMFLOAT | 1 | |
| 13 | CAP(10) (10 per pack) | 2 | |
| 14 | ASM.FLOAT | 2 | |
| 15 | O RING | 1 | |
| 16 | FITTINGSEDIMENT | 1 | |
| 17 | SCREW | 4 | |
| 18 | GASKETFLOAT CHAMBER | 1 | |
| 20 | RINGCARB | 1 | |
| 22 | JETPILOTtahos_40(10) (10 per pack) | 1 | |
| 23 | SCREWTHROTTLE STOP | 1 | |
| 24 | SPRING | 1 | |
| 25 | SCREWAIR | 1 | |
| 26 | SPRINGAIR ADJUST | 1 | |
| 27 | ASM.PLUNGER | 1 | |
| 28 | SPRINGPLUNGER | 1 | |
| 29 | HOLDERGUIDE | 1 |
