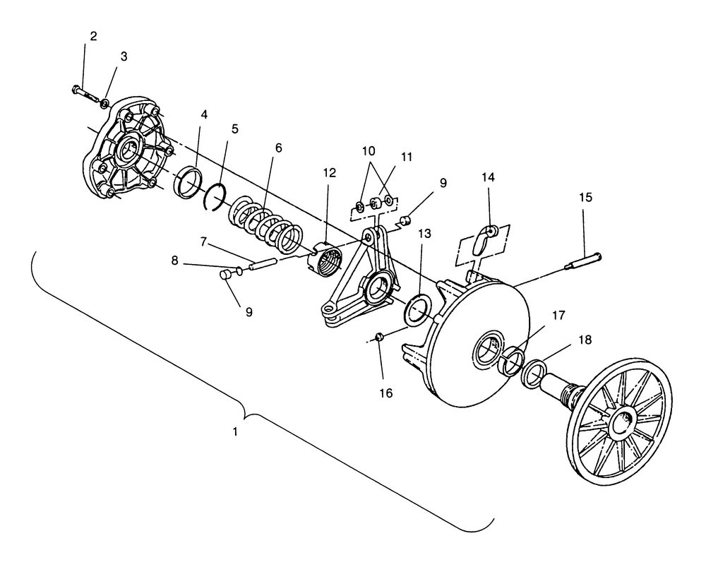
| № | Наименование | Примечание | Кол-во |
|---|---|---|---|
| 1 | CLUTCHBASICtahos_84(DRIVE) (Less 614) | 1 | |
| 2 | BOLT | 6 | |
| 3 | WASHER SPRING LOCK(10) (10 per pack) | 6 | |
| 4 | BEARING COVER(10) (10 per pack) | 1 | |
| 5 | RINGRETAININGCOVER(10) * (10 per pack) | 1 | |
| 6 | SPRING-CLUTCH(GOLD) | 1 | |
| 7 | PIN-ROLLER(10) (10 per pack) | 3 | |
| 8 | KITSHIMDRIVE CLUTCH | 1 | |
| 9 | BUTTON GUIDE(10) .245" (10 per pack) | 6 | |
| 10 | WASHER(10) (10 per pack) | 6 | |
| 11 | ROLLER/BUSHING ASM.(3) ** (3 per pack) | 3 | |
| 12 | NUT JAM | 1 | |
| 13 | SPACER.020(10) (10 per pack) | 0 | |
| 13 | SPACER.032 | 0 | |
| 14 | ASM-WEIGHT/BUSHING (10M5) | 3 | |
| 15 | PIN WT.HARDENED(10) (10 per pack) | 3 | |
| 16 | NUT FLEXLOC(10) (10 per pack) | 3 | |
| 17 | BEARINGSLEEVE | 1 | |
| 18 | INSERTMOVEABLE | 1 |
