| № | Наименование | Примечание | Кол-во |
|---|---|---|---|
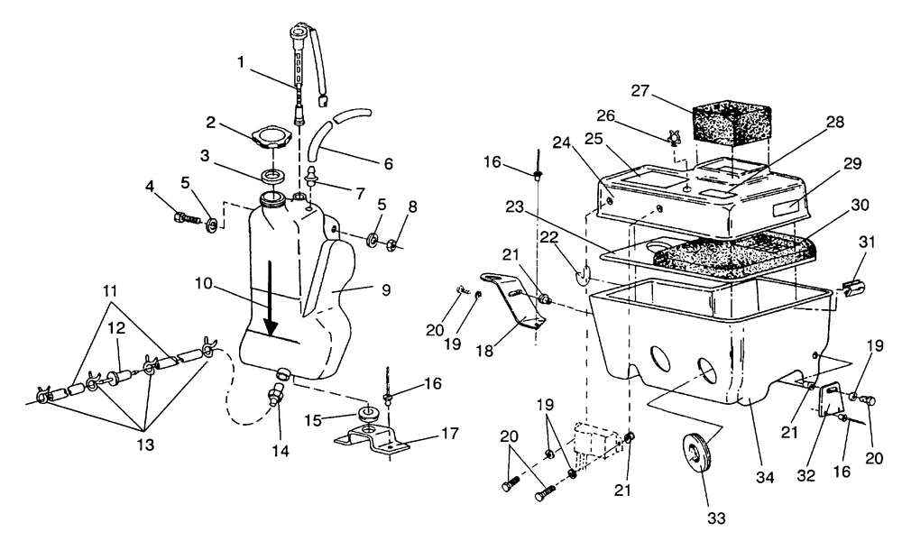
| 1 | SENSOROIL LEVELW/CONN. | 1 | |
| 2 | CAPOIL TANK | 1 | |
| 3 | GASKET-OIL CAP | 1 | |
| 4 | BOLT | 1 | |
| 5 | WASHERWROUGHT | 2 | |
| 6 | SUBSTITUTED BY 9990000 | 0 | |
| 7 | VENT-TANK | 1 | |
| 8 | NUT-NYLOK(10) (10 per pack) | 1 | |
| 11 | LINEFUEL1/4 ID(1525 CM.) | 0 | |
| 12 | FILTERSMALLIN-LINE(10) (10 per pack) | 1 | |
| 13 | CLAMPHOSE(10) (10 per pack) | 4 | |
| 14 | FITTING OUTLET | 1 | |
| 15 | GROMMET RUBBER | 1 | |
| 16 | RIVETINTERLOCKZ(50) * (50 per pack) | 8 | |
| 19 | WASHER(10) (10 per pack) | 2 | |
| 20 | SCREW(10) * (10 per pack) | 2 | |
| 21 | NUT-WELL(10) * (10 per pack) | 2 | |
| 23 | PLATEAIR SILENCER | 1 | |
| 26 | CLAMPWIRE ROUTING | 1 | |
| 27 | INTAKE ASM FOAM | 1 | |
| 30 | BAFFLE ASM. | 1 | |
| 31 | CLIP AIR BOX | 9 | |
| 32 | BRACKET SILENCER | 1 | |
| 33 | BOOT | 2 | |
| 34 | SILENCER DRILLED | 1 |
