| № | Наименование | Примечание | Кол-во |
|---|---|---|---|
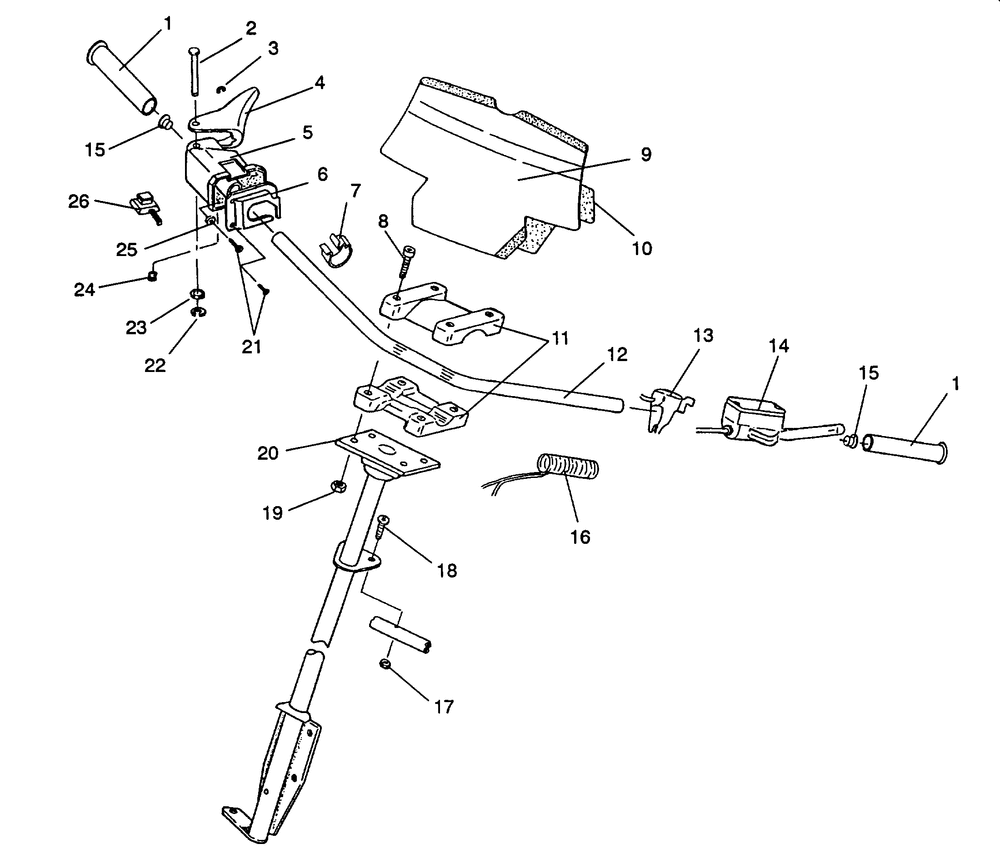
| 1 | GRIPHANDLEBAR | 2 | |
| 2 | PIN-RETAINING | 1 | |
| 3 | RINGRETAINING | 1 | |
| 4 | LEVER ASMW/WARMER | 1 | |
| 4 | LEVER-THROTTLE | 1 | |
| 5 | BLOCKTHROTTLE/BRAKE (SKS) | 1 | |
| 6 | BLOCK-ADAPTER | 1 | |
| 7 | CLIP | 2 | |
| 11 | BLOCKHANDLEBARBLK | 1 | |
| 13 | SWITCH DIMMER | 1 | |
| 15 | CAPLUG | 2 | |
| 16 | GRIP-HEATER ASMHI/LO | 2 | |
| 17 | NUT-NYLOK(10) (10 per pack) | 2 | |
| 18 | BOLT(10) (10 per pack) | 2 | |
| 21 | SCREW | 7 | |
| 22 | RINGRETAINING (10) (10 per pack) | 1 | |
| 23 | WASHER | 2 | |
| 24 | SCREWSET | 1 |
