| № | Наименование | Примечание | Кол-во |
|---|---|---|---|
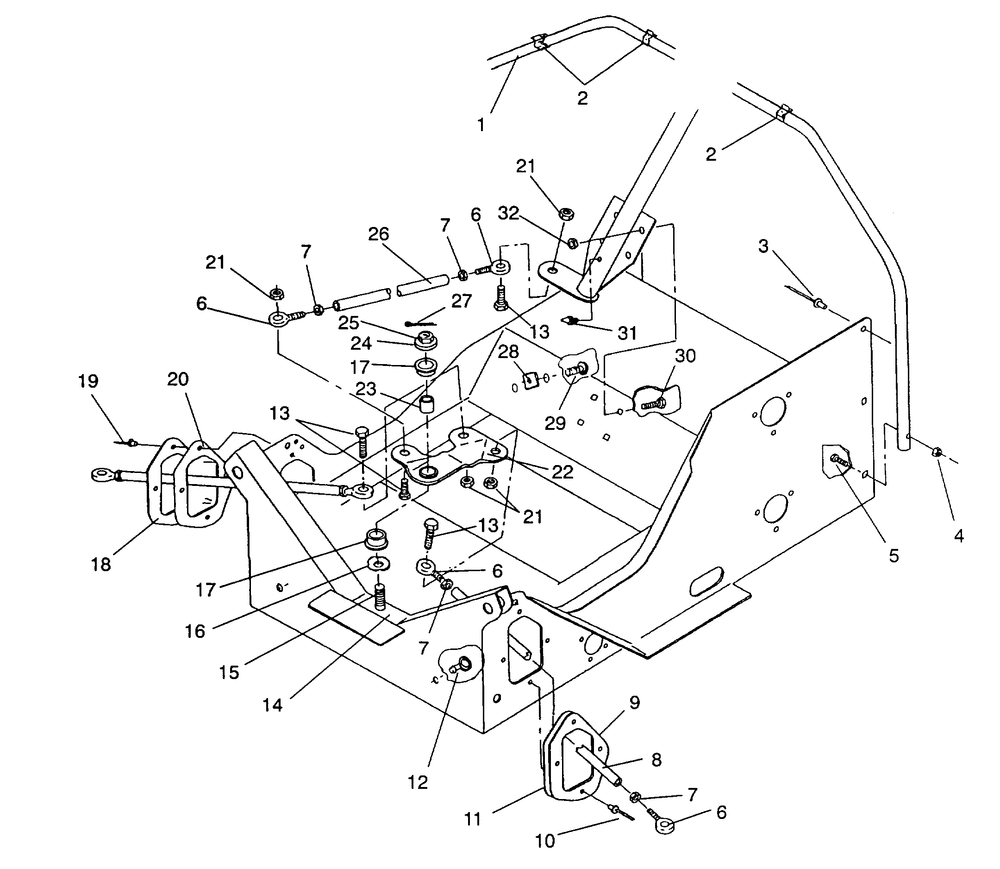
| 2 | CLIP | 3 | |
| 3 | RIVETINTERLOCKZ(50) * (50 per pack) | 1 | |
| 4 | NUT-NYLOK(10) (10 per pack) | 4 | |
| 5 | BOLT-CARRIAGE | 4 | |
| 6 | ROD END LH. | 3 | |
| 6 | ROD END RH. | 3 | |
| 7 | NUTHEXRH(10) (10 per pack) | 3 | |
| 7 | NUTLH (10) (10 per pack) | 3 | |
| 8 | TIEROD (Storm) | 2 | |
| 8 | RODTIEBLACK | 2 | |
| 10 | RIVET(10) (10 per pack) | 7 | |
| 11 | BOOT LH | 1 | |
| 12 | CLIPROSEBUD | 2 | |
| 13 | BOLT | 4 | |
| 15 | BOLT | 1 | |
| 16 | WASHERWAVE | 1 | |
| 17 | BUSHING | 2 | |
| 18 | PLATERHBOOT SEAL | 1 | |
| 21 | NUT LOCK(10) (10 per pack) | 4 | |
| 22 | ARMSTEERINGCTRBLK. | 1 | |
| 24 | WASHER(10) (10 per pack) | 1 | |
| 25 | NUT | 1 | |
| 26 | ROD-DRAG LINK | 1 | |
| 27 | PINCOTTER(10) (10 per pack) | 1 | |
| 28 | NUT SPEED | 2 | |
| 29 | BOLT-CARRIAGE [700 IQ][600/700 IQ Dragon] | 2 | |
| 30 | BOLTCARRIAGE | 4 | |
| 31 | FITTINGLUB/VEN | 1 | |
| 32 | NUTNYLOK(10) (10 per pack) | 4 |
