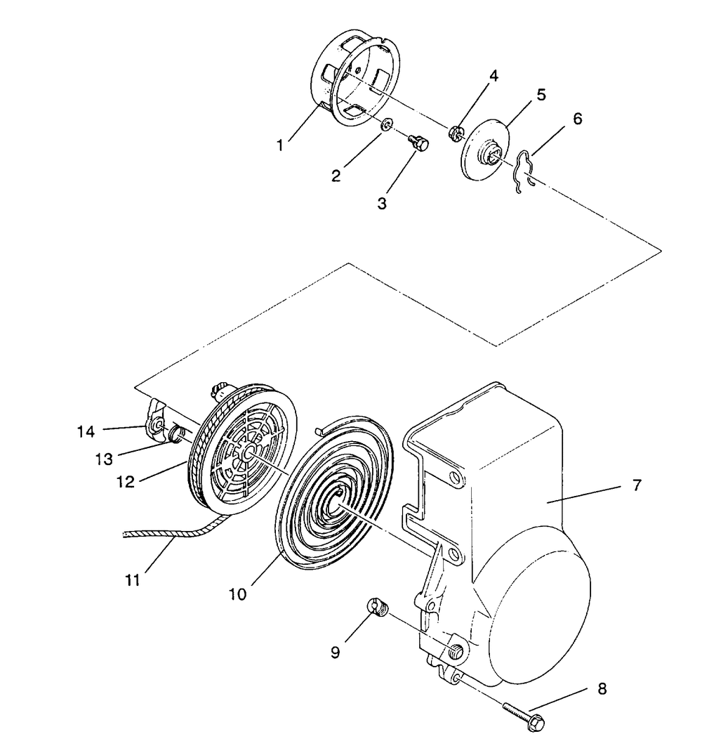
| № | Наименование | Примечание | Кол-во |
|---|---|---|---|
| 1 | PULLEY STARTING | 1 | |
| 2 | WASHER | 3 | |
| 3 | BOLT&WASHER ASM. | 3 | |
| 4 | NUT FLANGE(10) (10 per pack) | 1 | |
| 5 | PLATE FRICTION | 1 | |
| 6 | SPRING FRICTION | 1 | |
| 7 | CASE STARTER | 1 | |
| 8 | BOLT FLANGE | 4 | |
| 9 | GUIDE-ROPE | 1 | |
| 10 | SPRING SPIRAL * | 1 | |
| 11 | ROPE100 FTNYL.STARTER [100 FT.] | 1 | |
| 12 | ASM.REEL | 1 | |
| 13 | SPRING RETURN | 1 | |
| 14 | RATCHET | 1 |
