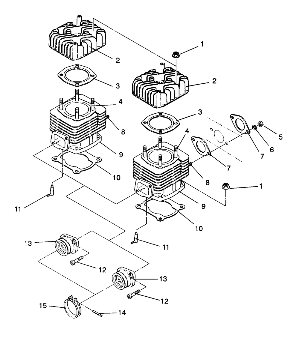
| № | Наименование | Примечание | Кол-во |
|---|---|---|---|
| 1 | NUT-FLANGE(10) (10 per pack) | 8 | |
| 2 | HEAD CYLINDER | 2 | |
| 3 | ASM.GASKETHEAD (Head) Non-Asbestos | 2 | |
| 4 | STUD | 8 | |
| 5 | NUT | 4 | |
| 6 | WASHER SPRING LOCK | 4 | |
| 7 | ASM.GASKETEXHAUST | 4 | |
| 8 | STUD (10) (10 per pack) | 4 | |
| 9 | ASM.CYLINDER [Incl. 34] | 2 | |
| 10 | GASKET-CYLINDER | 2 | |
| 11 | ASM.VALVECHECK | 2 | |
| 12 | BOLT SOCKET HEAD | 4 | |
| 13 | ASM. ADAPTER | 2 | |
| 14 | SCREWPAN HEAD (10) (10 per pack) | 2 | |
| 15 | ASM.BANDADAPTER [Incl. 11] | 2 |
