| № | Наименование | Примечание | Кол-во |
|---|---|---|---|
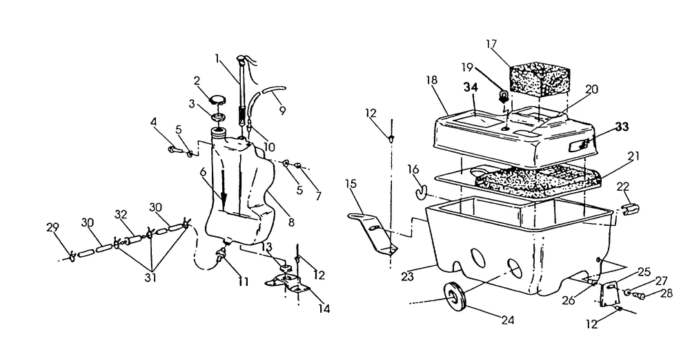
| 1 | SENSOROIL LEVELW/CONN. | 1 | |
| 2 | CAPOIL TANK | 1 | |
| 3 | GASKET-OIL CAP | 1 | |
| 4 | BOLT | 1 | |
| 5 | WASHERWROUGHT | 2 | |
| 7 | NUT-NYLOK(10) (10 per pack) | 1 | |
| 9 | LINEFUEL1/8 ID600 CM. | 0 | |
| 10 | VENT-TANK | 1 | |
| 11 | FITTING OUTLET | 1 | |
| 12 | RIVETINTERLOCKZ(50) * (50 per pack) | 4 | |
| 13 | GROMMET RUBBER | 1 | |
| 17 | INTAKE ASM FOAM | 1 | |
| 19 | CLAMPWIRE ROUTING | 1 | |
| 21 | BAFFLE ASM. | 1 | |
| 22 | CLIP AIR BOX | 9 | |
| 24 | BOOT | 2 | |
| 25 | BRACKET SILENCER | 1 | |
| 26 | NUT-WELL(10) * (10 per pack) | 2 | |
| 27 | WASHER(10) (10 per pack) | 2 | |
| 28 | SCREW(10) * (10 per pack) | 2 | |
| 31 | CLAMPHOSE(10) (10 per pack) | 4 | |
| 32 | FILTERSMALLIN-LINE(10) (10 per pack) | 1 |
