| № | Наименование | Примечание | Кол-во |
|---|---|---|---|
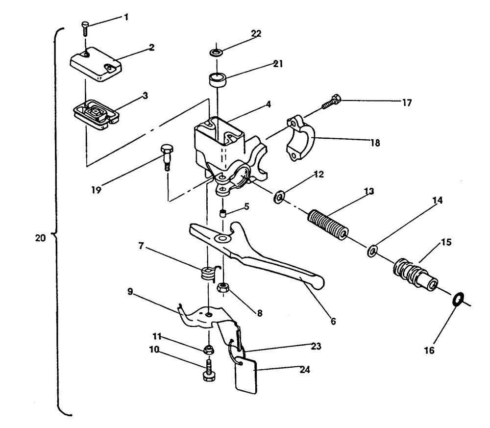
| 3 | GASKETMASTER CYL. | 1 | |
| 5 | BUSHINGBRAKE LEVER | 1 | |
| 7 | SPRINGPK.BRAKE | 1 | |
| 8 | NUT-NYLOK(10) (10 per pack) | 1 | |
| 9 | LEVERPARK.BRAKE | 1 | |
| 10 | SCREW | 1 | |
| 11 | BUSHINGPK.BRAKE LEVER | 1 | |
| 12 | WASHER | 1 | |
| 13 | SPRINGCOMPRESSION(10) (10 per pack) | 1 | |
| 14 | U PACKING SEAL | 1 | |
| 16 | O RING (10) (10 per pack) | 1 | |
| 19 | BOLTBRAKE LEVER | 1 | |
| 21 | BAFFLEMASTER CYL. | 1 | |
| 22 | WASHER BAFFLE | 1 | |
| 23 | STRAPPARK.BRAKE TAG | 1 |
