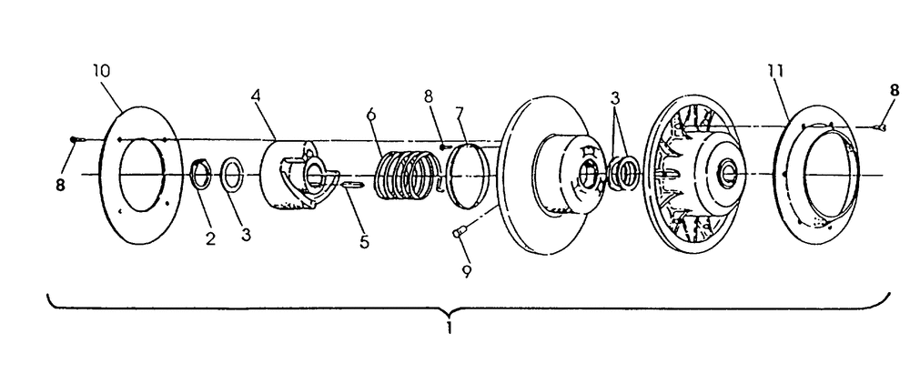
| № | Наименование | Примечание | Кол-во |
|---|---|---|---|
| 1 | ASM-DRIVEN CLUTCHBSC203 N/B (Trail) | 1 | |
| 2 | RINGRETAINING | 1 | |
| 3 | WSHR-1.505X2.00X.030-Y | 3 | |
| 4 | RAMPDRIVEN36 DEGREE (36 Degree) | 1 | |
| 5 | KEY SQUARE | 1 | |
| 6 | SPRINGCLUTCH(RED) | 1 | |
| 7 | BUSHING-DRIVEN LARGE DU | 1 | |
| 8 | SCREW | 14 | |
| 9 | BUTTON-RAMP(10) (10 per pack) | 6 | |
| 10 | PLATE | 1 |
