| № | Наименование | Примечание | Кол-во |
|---|---|---|---|
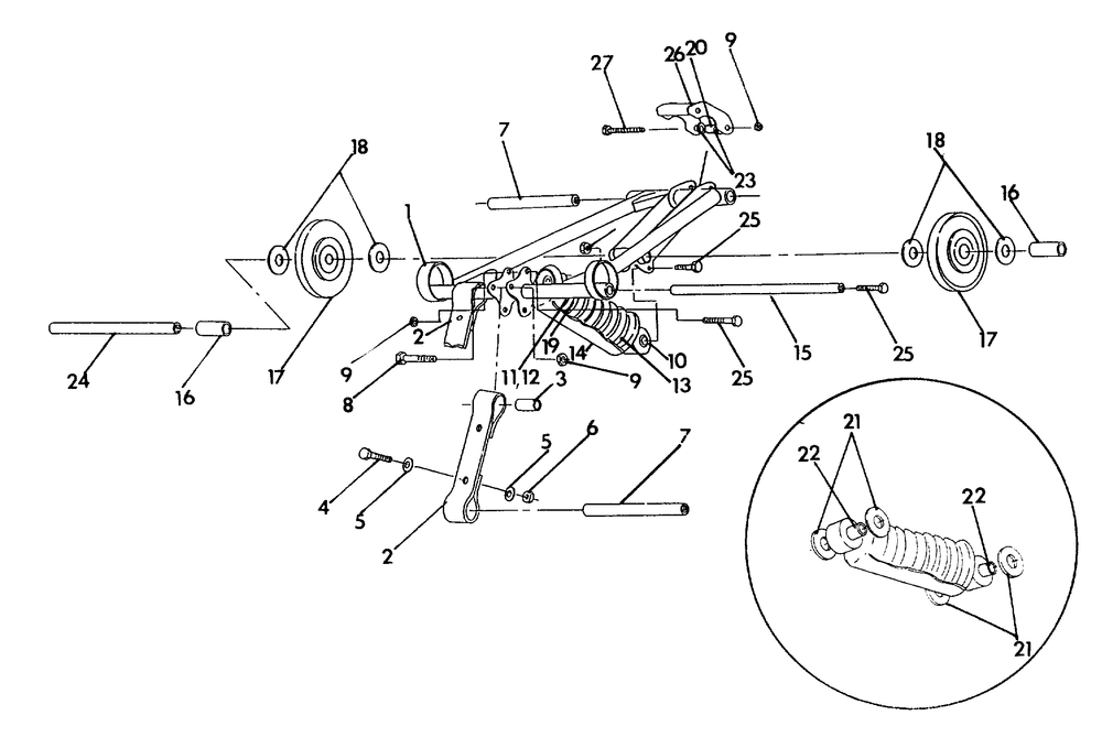
| 2 | STRAP LIMITER | 3 | |
| 4 | BOLT | 6 | |
| 5 | WASHER | 12 | |
| 6 | NUTNYLOK(10) (10 per pack) | 6 | |
| 7 | SHAFTPIVOT ARM | 2 | |
| 8 | BOLT | 1 | |
| 9 | NUTNYLOK(10) (10 per pack) | 3 | |
| 11 | RETAINER SPRING BODY | 1 | |
| 12 | RETAINERSPRINGSLOTTED | 1 | |
| 13 | SPRINGCOMPRESSIONBLACK | 1 | |
| 14 | SHIELD-SPRING | 1 | |
| 15 | SHAFTMOUNTING | 1 | |
| 16 | SPACER OUTER | 2 | |
| 17 | WHEELIDLER 5.35" | 2 | |
| 18 | BUSHING(10) (10 per pack) | 4 | |
| 20 | SPACER | 1 | |
| 22 | BUSHING (1.34 IN.) | 2 | |
| 23 | WASHERWROUGHT | 2 | |
| 24 | SHAFTPIVOT ARM | 1 | |
| 25 | SCREW(10) (10 per pack) | 2 |
