| № | Наименование | Примечание | Кол-во |
|---|---|---|---|
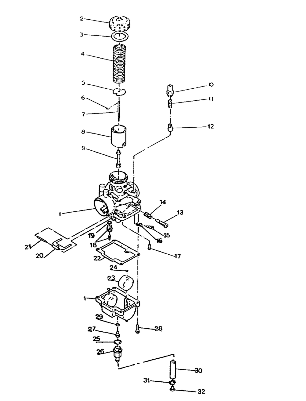
| 1 | CARBURETOR (Incl. 1-17 22-33) | 2 | |
| 2 | ASM.TOP MIXING CHAMBER (Incl. 3) | 1 | |
| 4 | SPRING THROTTLE | 1 | |
| 5 | PLATETHROTTLE | 1 | |
| 6 | E-RING(10) (10 per pack) | 1 | |
| 7 | NEEDLEJET | 1 | |
| 8 | VALVETHROTTLE3.0 | 1 | |
| 9 | JET NEEDLE | 1 | |
| 10 | HOLDERGUIDE | 1 | |
| 11 | SPRINGPLUNGER | 1 | |
| 12 | ASM.PLUNGER | 1 | |
| 13 | SCREWTHROTTLE STOP | 1 | |
| 14 | SPRING | 1 | |
| 15 | SCREWAIR | 1 | |
| 16 | SPRINGAIR ADJUST | 1 | |
| 17 | JETPILOTtahos_35(10) (10 per pack) | 1 | |
| 18 | VALVENEEDLE1.5 (1.5) | 1 | |
| 19 | PACKING NEEDLE VALVE(10) (10 per pack) | 1 | |
| 20 | ARMFLOAT | 1 | |
| 21 | PIN FLOAT | 1 | |
| 22 | GASKETFLOAT CHAMBER | 1 | |
| 23 | FLOAT ASM. | 2 | |
| 24 | CAP(10) (10 per pack) | 2 | |
| 25 | O RING | 1 | |
| 26 | FITTINGSEDIMENT | 1 | |
| 27 | JETMAINHX.HDtahos_190(10) (tahos_190) (10 per pack) | 1 | |
| 28 | ASM.SCREW & WASHER(10) (10 per pack) | 4 | |
| 29 | WASHER (10) (10 per pack) | 1 | |
| 30 | LINEFUEL1/4 ID(1525 CM.) | 1 | |
| 31 | CLAMP-HOSE | 2 | |
| 32 | PLUGTRAP | 1 |
