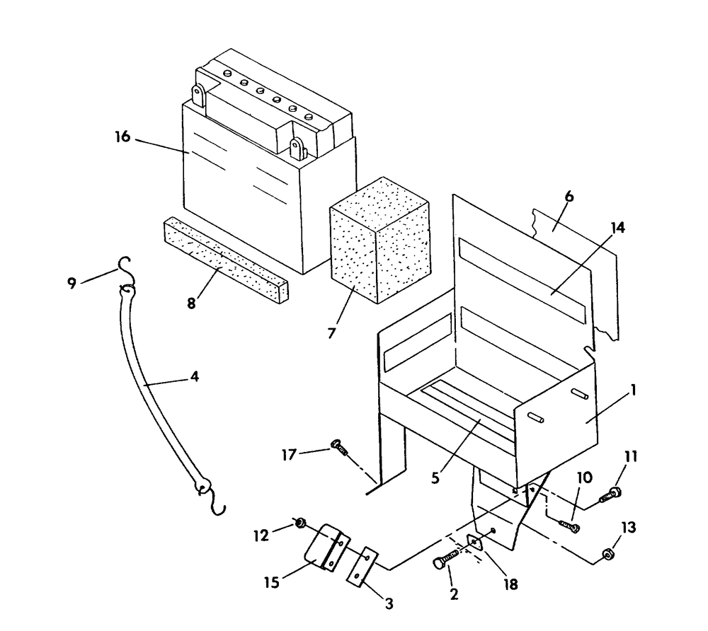
BATTERY BOX 500 SPX (4922552255012A)

Корзина пуста