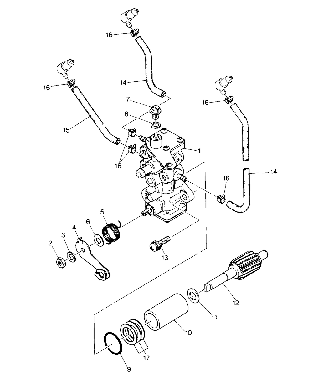
OIL PUMP 650 (4915411541051A)

Корзина пуста