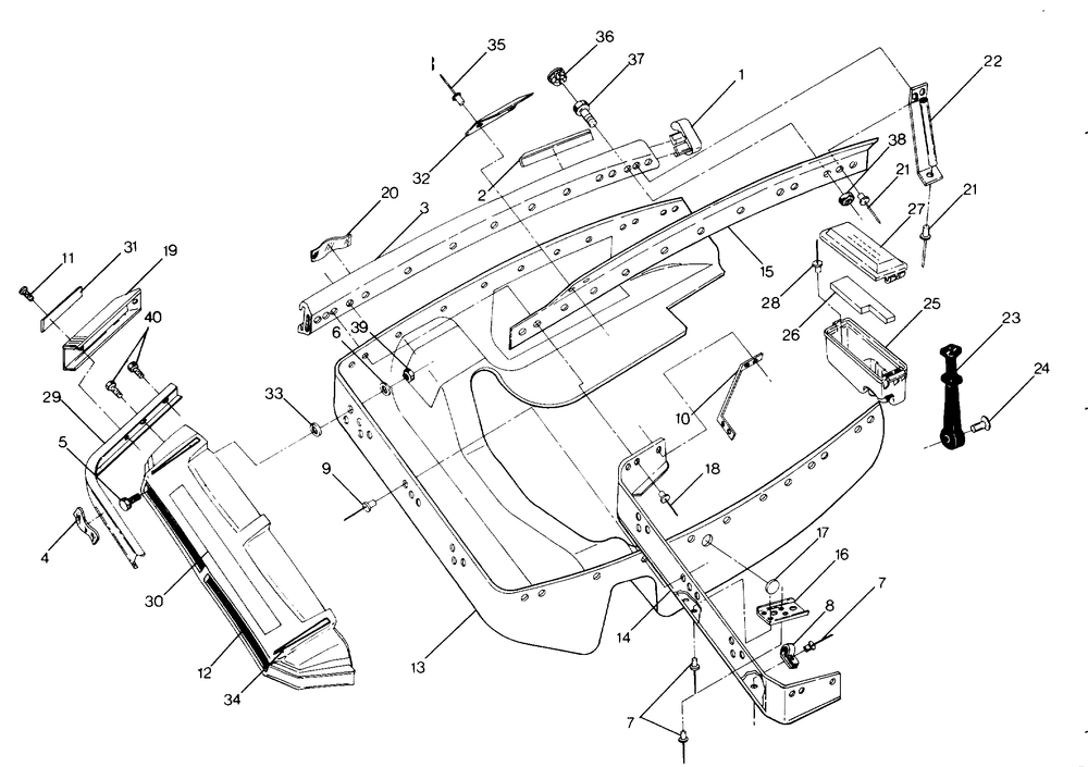
NOSE PAN 400 500 500 Classic and 650 Updated 10 / 88 (4915411541007A)

Корзина пуста