| № | Наименование | Примечание | Кол-во |
|---|---|---|---|
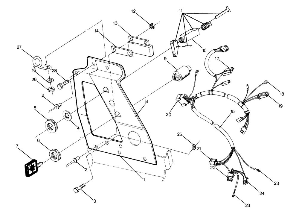
| 2 | POP RIVET(10) (10 per pack) | 4 | |
| 3 | BOLT | 2 | |
| 4 | WASHER-LOCK | 1 | |
| 5 | NUT | 1 | |
| 6 | NUT-IGNITION SWITCH | 1 | |
| 7 | KEY IGNITION | 1 | |
| 9 | SWITCH IGNITION | 1 | |
| 10 | CABLE CHOKE (TWIN) | 1 | |
| 11 | KIT-CHOKE CONTROL [INCL. ANCHOR FLIPPER PIN] | 1 | |
| 12 | NUT NYLOK 10-24 Y | 2 | |
| 14 | HEAT SINK | 1 | |
| 16 | WASHERWROUGHT | 1 | |
| 25 | WASHER13/64X1/2X18GAFL-Y (10) (10 per pack) | 3 | |
| 26 | NUT-NYLOK(10) (10 per pack) | 1 | |
| 28 | TETHER SWITCH KIT COILED FITS (Euro) | 1 | |
| 28 | BOLT-CARRIAGE [700 IQ][600/700 IQ Dragon] | 1 |
