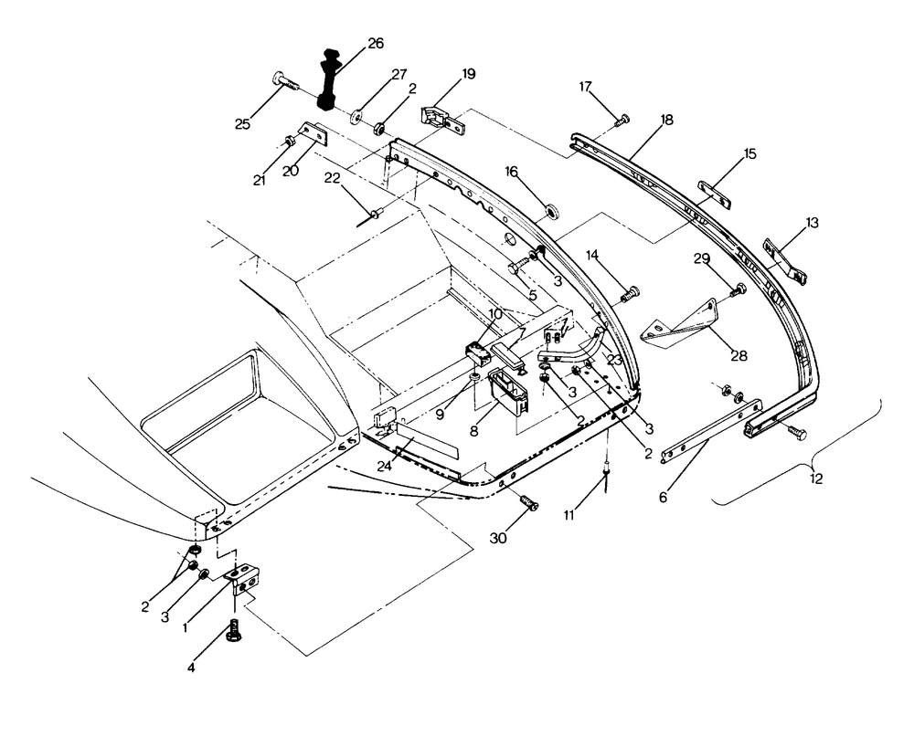
BUMPER AND HINGE LTR / STARTRAK (4914141414005A)

Корзина пуста