| № | Наименование | Примечание | Кол-во |
|---|---|---|---|
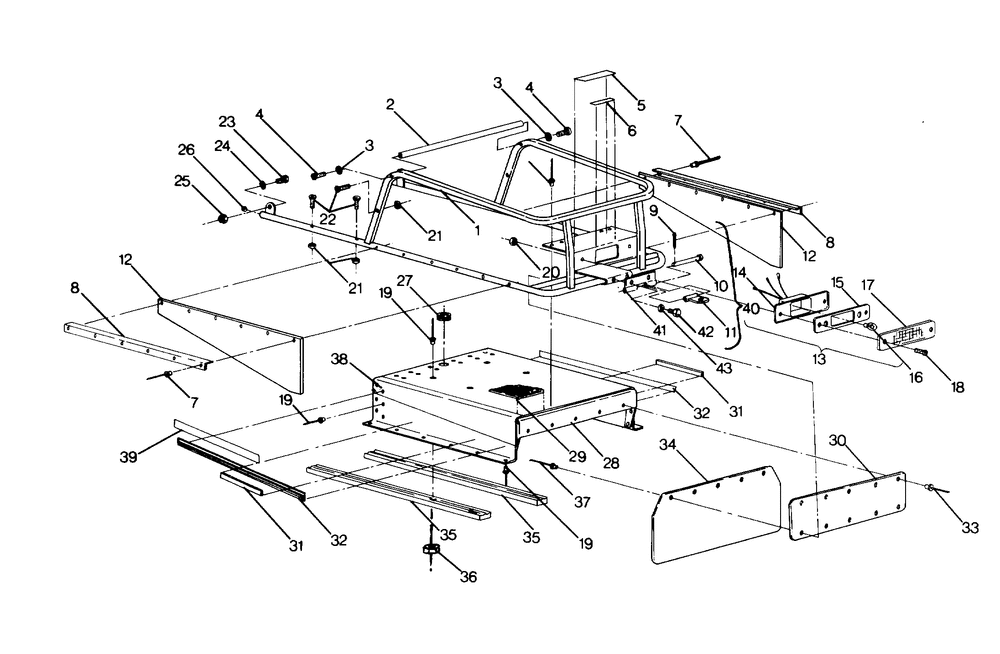
| 7 | RIVET(50) (50 per pack) | 17 | |
| 9 | PINCOTTER(10) (10 per pack) | 1 | |
| 10 | CLEVIS PIN | 1 | |
| 11 | WELD-HITCH U.S.BLK (Optional) | 1 | |
| 15 | GASKET | 1 | |
| 16 | BULBT/LEXT.DUTY | 1 | |
| 17 | LENS | 1 | |
| 19 | RIVET3/16X.402(50) (50 per pack) | 48 | |
| 20 | NUT NYLOK 10-24 Y | 2 | |
| 21 | NUT-NYLOK(10) (10 per pack) | 6 | |
| 22 | SCREW(10) (10 per pack) | 6 | |
| 23 | BOLT | 2 | |
| 25 | NUTFLEXLOC(10) (10 per pack) | 2 | |
| 26 | PLUG | 2 | |
| 27 | GROMMET (10) (10 per pack) | 1 | |
| 31 | REFLECTOR RED [CGBA ONLY] | 2 | |
| 33 | RIVETPOP(50)* (50 per pack) | 5 | |
| 34 | FLAP-SNOWMOLDEDBLK W/WHITE | 1 | |
| 36 | WASHER13/64X1/2X18GAFL-Y (10) (10 per pack) | 32 | |
| 37 | RIVET(10) ALUM. (10 per pack) | 5 | |
| 40 | HITCHKITL.T./STARTRAK [INCL. 8-13] | 1 | |
| 43 | WASHERSPRING LOCK(10) (10 per pack) | 2 |
