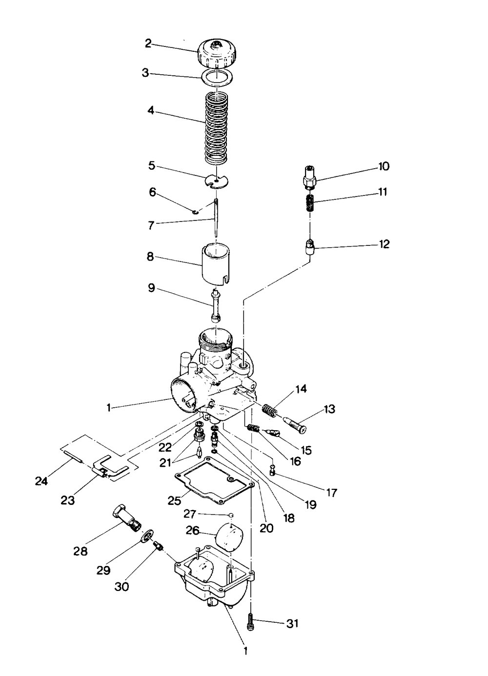
CARBURETOR Sport (4914161416039A)

Корзина пуста