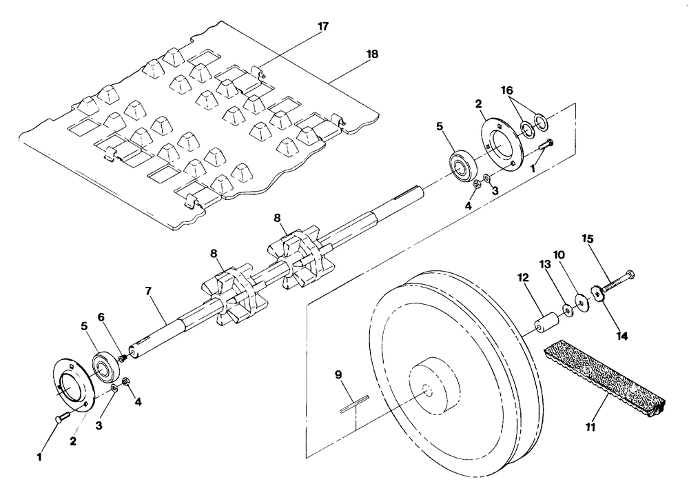
Drive Train (4910951095011A)

Корзина пуста