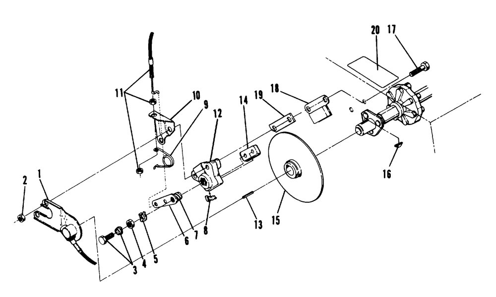
Brake Assembly (4909550955009A)

Корзина пуста
Наименование Примечание Кол-во
7 SHAFT-HELIX 1
13 KEYSPEEDOMETERSQUARE(10) (10 per pack) 1
14 PAD BRAKE(THICK) 1
17 SCREW(10) (10 per pack) 2