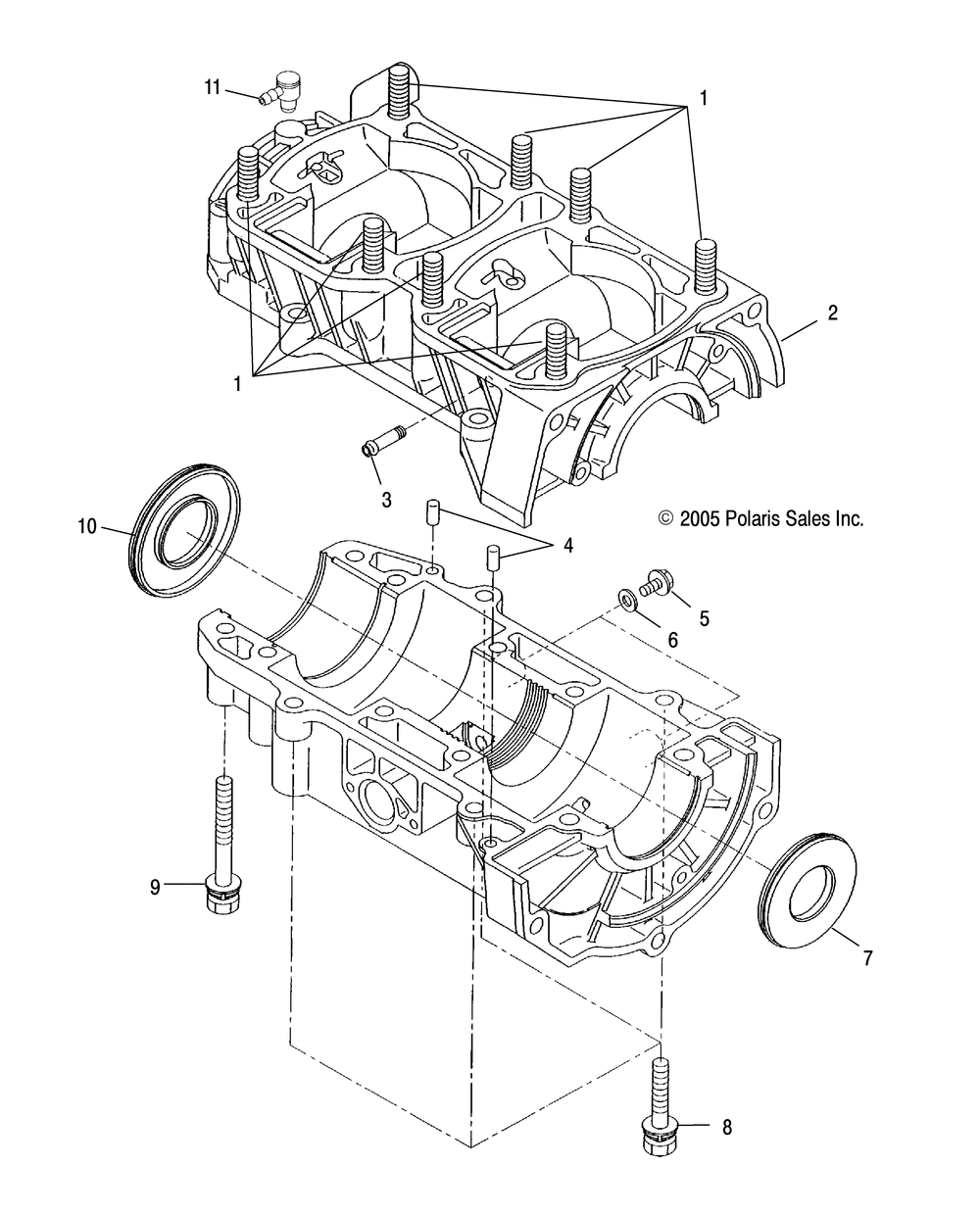
ENGINE CRANKCASE - S14CR5BSA / BSL (4997239723C10)

Корзина пуста