| № | Наименование | Примечание | Кол-во |
|---|---|---|---|
| 1 | RIVETINTERLOCKZ(50) * (50 per pack) | 0 | |
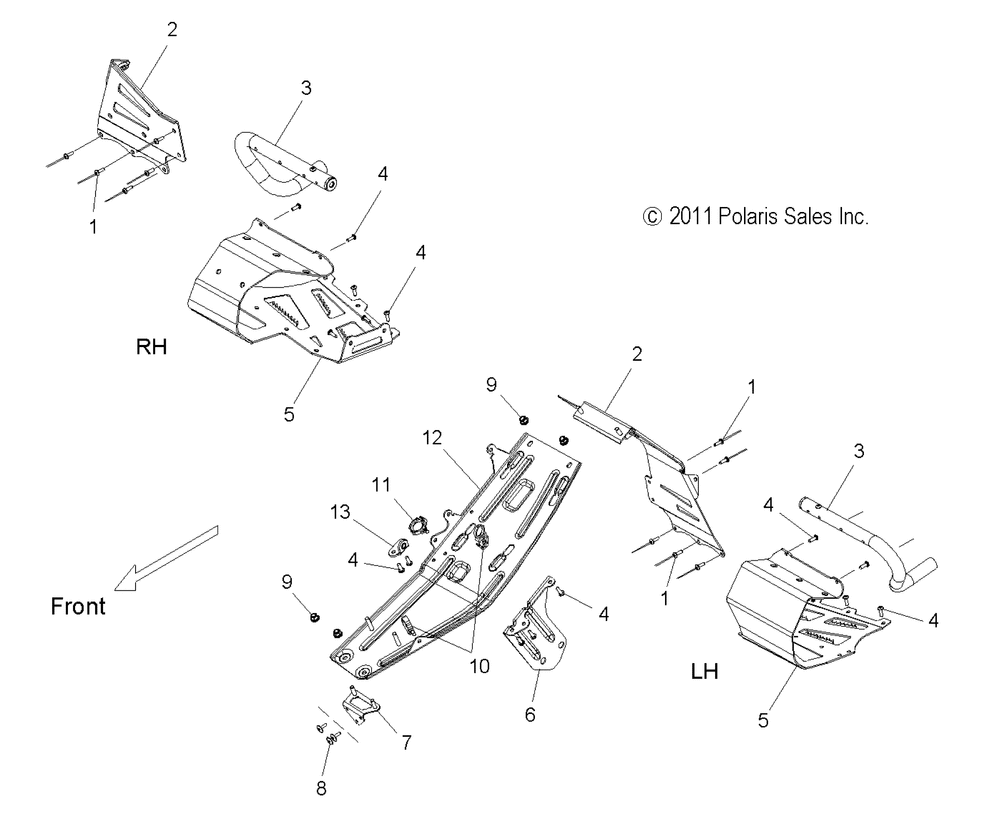
| 2 | ASM-FOOTRESTRH | 1 | |
| 2 | ASM-FOOTREST LH | 1 | |
| 3 | ASM-FOOTREST TUBE LH | 1 | |
| 3 | ASM-FOOTREST TUBE RH | 1 | |
| 4 | RIVET-4.8MM DIA-1.5-6.0 GRIP | 0 | |
| 5 | FOOTREST-LH LOWER | 1 | |
| 5 | FOOTREST-RH LOWER | 1 | |
| 6 | GUARD-TPS | 1 | |
| 7 | ASM-BACKERCLUTCH GUARD W/STUD | 1 | |
| 8 | RIVET BLIND(50) * (50 per pack) | 3 | |
| 9 | NUT-M6X1.0FLG-NYLOC-OLIVE D | 4 | |
| 10 | CLIPSNAP-IN | 2 | |
| 11 | CLIPROSEBUD | 1 | |
| 12 | ASM-BELT GUARD | 1 | |
| 13 | ASM-OIL BOTTLE BRKT | 1 |
