| № | Наименование | Примечание | Кол-во |
|---|---|---|---|
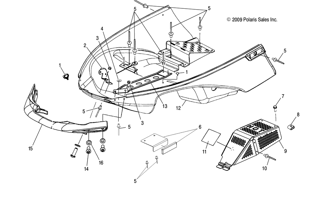
| 1 | CLIP | 1 | |
| 2 | BRKT-HINGENOSEPANLH | 1 | |
| 2 | BRKT-HINGENOSEPANRH | 1 | |
| 3 | NUT-NYLOK(10) (10 per pack) | 6 | |
| 4 | WASHER13/64X1/2X18GAFL-Y (10) (10 per pack) | 2 | |
| 5 | RIVET BLIND(50) * (50 per pack) | 22 | |
| 6 | ASM-REFLECTOR/BRKT120 | 2 | |
| 7 | SCREW SEMS | 2 | |
| 8 | NUT (10) (10 per pack) | 2 | |
| 9 | ASM-CLUTCH GUARD/CHAIN | 1 | |
| 10 | RIVETINTERLOCKZ(50) * (50 per pack) | 2 | |
| 11 | DECAL-ENGINE AND CLUTCH | 1 | |
| 12 | NOSEPAN-120REFLECTORBLK | 1 | |
| 13 | BRACE-BUMPERFRONTLH | 1 | |
| 13 | BRACE-BUMPERFRONTRH | 1 | |
| 14 | SCREW(10) (10 per pack) | 6 | |
| 15 | BUMPER-FRONTBLK | 1 | |
| 16 | WASHER | 6 |
