| № | Наименование | Примечание | Кол-во |
|---|---|---|---|
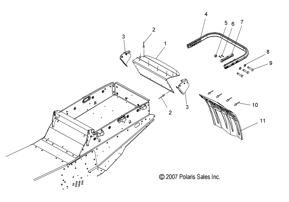
| 1 | BRKT-HITCH FLAP | 1 | |
| 2 | RIVETINTERLOCKZ(50) * (50 per pack) | 10 | |
| 3 | WELD-HITCH PLATE W/NUTSLHBLK | 1 | |
| 3 | WELD-HITCH PLATE W/NUTSRHBLK | 1 | |
| 4 | ASM-BUMPERTRGNATURAL | 1 | |
| 5 | NUTNYLOKFLANGED | 2 | |
| 6 | RIVET(10) (10 per pack) | 4 | |
| 7 | ASM-BUMPERTRGNATURAL | 2 | |
| 8 | WASHER SPRING LOCK(10) (10 per pack) | 4 | |
| 9 | SCREW(10) (10 per pack) | 6 | |
| 10 | RIVETPOP(50)* (50 per pack) | 4 | |
| 11 | FLAP-SNOWBLACK | 1 |
