| № | Наименование | Примечание | Кол-во |
|---|---|---|---|
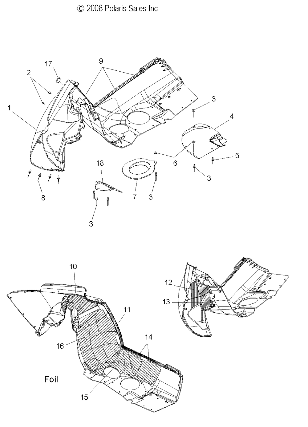
| 1 | ASM-FENDERRH600 TOURBLK [Incl. Foam and Foil] | 1 | |
| 1 | SEAL-BULB.375350CM [Svc] | 0 | |
| 2 | BUMPER-GROMMET1/4" | 2 | |
| 3 | RIVET BLIND(50) * (50 per pack) | 0 | |
| 4 | PLATE-PROTECTIONFENDERBLK | 1 | |
| 5 | RIVETPOP(50)* (50 per pack) | 2 | |
| 6 | WASHER(10) (10 per pack) | 3 | |
| 7 | BOOT-EXHAUSTOUTLET | 1 | |
| 8 | RIVET-NYLON1/4 (.06-.50)AL-B ( | 8 | |
| 10 | FOIL-FENDERRH | 1 | |
| 11 | FOIL-10.00X1.00 | 1 | |
| 12 | FOIL-FENDERRH | 1 | |
| 13 | FOIL-FENDERRH | 1 | |
| 14 | FOIL-FENDER RH | 2 | |
| 15 | FOAM/FIBERFEND LOWERRHHITMP | 1 | |
| 16 | FOAM/FIBERFEND UPPERRHHITMP | 1 | |
| 17 | PLUG HOLE | 1 | |
| 18 | DEFLECTOR-EXHAUSTW/HOLES600 | 1 |
