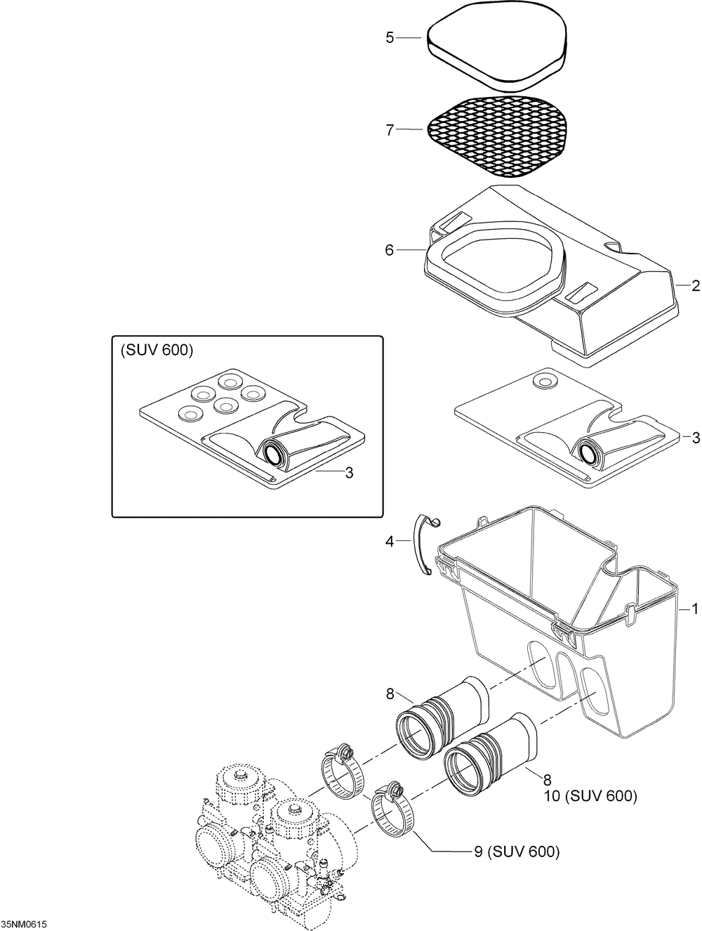
02- Air Silencer 550F SUV

Корзина пуста