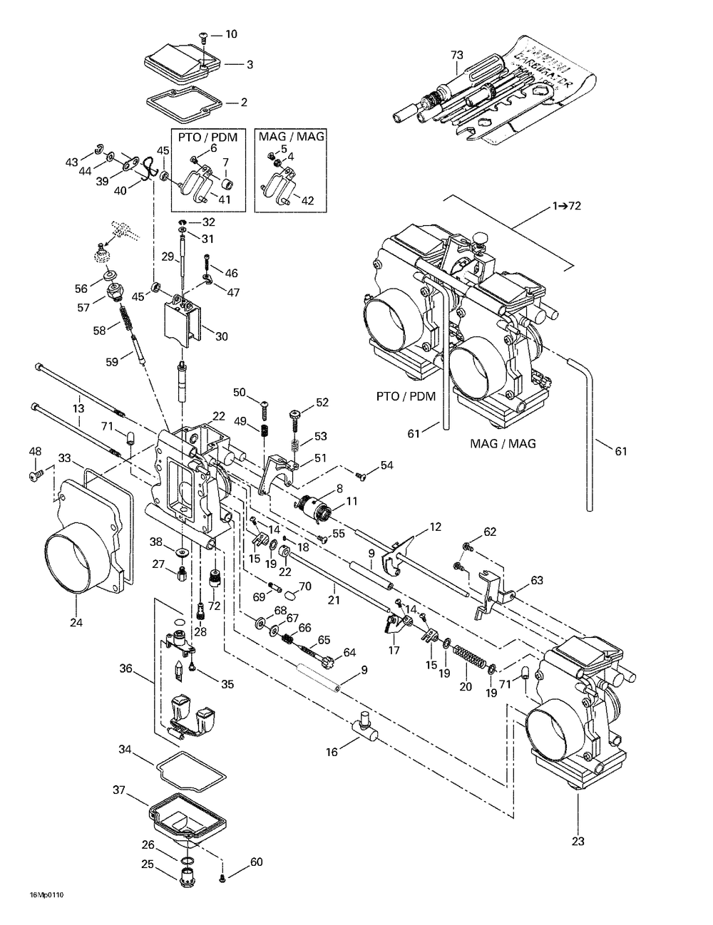
| № | Наименование | Примечание | Кол-во |
|---|---|---|---|
| MAIN JET 500 600 | 2 | ||
| PILOT JET 20 600 | 2 | ||
| JOINT TORIQUE *O-RING MX-Z 600. | 2 | ||
| 2 | JOINT *GASKET | 2 | |
| 3 | COVER | 2 | |
| 6 | VIS *SCREW | 1 | |
| 7 | RING | 1 | |
| 8 | RING | 1 | |
| 9 | RING | 2 | |
| 10 | VIS *SCREW | 4 | |
| 13 | VIS *SCREW | 2 | |
| 14 | VIS *SCREW | 3 | |
| 15 | LEVER | 2 | |
| 16 | NIPPLE | 1 | |
| 17 | STARTER LEVER | 1 | |
| 19 | PACKING | 3 | |
| 20 | SPRING | 1 | |
| 25 | DRAIN SCREW | 2 | |
| 26 | O-RING | 2 | |
| 28 | PILOT JET 17.5 (10.000 per pack) | 2 | |
| 29 | NEEDLE J8-9ZLY03-58 700 | 2 | |
| 31 | JOINT TAMPON *PACKING (10.000 per pack) | 2 | |
| 32 | E-RING (5.000 per pack) | 0 | |
| 33 | O-RING | 2 | |
| 34 | O-RING (2.000 per pack) | 2 | |
| 35 | VIS *SCREW | 4 | |
| 36 | FLOAT | 2 | |
| 37 | BODY FLOAT ASS Y | 2 | |
| 38 | RONDELLE *WASHER | 2 | |
| 43 | E-RING | 0 | |
| 46 | VIS *SCREW | 2 | |
| 47 | PLAQUE *PLATE | 2 | |
| 48 | VIS *SCREW | 8 | |
| 49 | SPRING | 1 | |
| 50 | VIS *SCREW | 1 | |
| 52 | ADJUSTMENT SCREW | 1 | |
| 53 | SPRING | 1 | |
| 54 | VIS *SCREW | 1 | |
| 55 | VIS *SCREW | 1 | |
| 56 | CAP | 2 | |
| 57 | GUIDE HOLDER | 2 | |
| 58 | SPRING | 2 | |
| 59 | PLUNGER ASS Y | 2 | |
| 60 | VIS *SCREW (10.000 per pack) | 2 | |
| 61 | DURITE *HOSE | 2 | |
| 62 | VIS *SCREW | 2 | |
| 64 | CAP | 2 | |
| 65 | ADJUSTER | 2 | |
| 66 | SPRING | 2 | |
| 67 | RONDELLE *WASHER | 2 | |
| 68 | PACKING | 2 | |
| 69 | NIPPLE | 2 | |
| 70 | CAP | 2 | |
| 71 | CAP | 2 | |
| 73 | TOOL KIT | 1 |
