Оригинальные каталоги
Масла и жидкости
Масла моторные
Масла трансмиссионные
Жидкости гидравлические
Жидкости охлаждающие
Жидкости тормозные
Масла гидравлические
Масла для вилок и амортизаторов
Масла компрессорные
Жидкости для стекол
Масла для цепей бензопил
Масла индустриальные
Масла промывочные
Раствор мочевины AdBlue
Автоэлектроника
Видеорегистраторы
Пылесосы автомобильные
FM трансмиттеры
Зарядные устройства
Разветвители, удлинители прикуривателя
Кабели
Вентиляторы автомобильные
Штекер прикуривателя
Датчик парктроника
Камеры заднего вида
Мониторы парковочные
Парктроники
Термометры
Накидки на сиденье с подогревом
Автохолодильники
Антирадары
Диагностический сканер
Аксессуары
Набор автомобилиста
Ароматизаторы
Тросы буксировочные
Канистры
Ремни крепления груза
Стяжки-резинки крепления
Сетки для крепления груза
Скотч
Влажные салфетки
Держатели телефонов, планшетов
Карты памяти
Наушники
Аккумулятор холода
Термосумки и контейнеры
Фонарики
Батарейки
Оплетки на руль
Огнетушители
Салфетки, полотенца, варежки
Инструмент
Домкраты
Компрессоры
Манометры
Насосы
Светильники переносные
Шарнирно-губцевый инструмент
Ударный инструмент
Метчики. Плашки
Заклёпочники
Заклёпки
Измерительный инструмент
Свёрла
Отвёртки
Изолента
Надфили. Напильники
Ножи, ножовки
Щётки
Абразивная бумага
Специнструмент
Ключи
Хомуты
Дрель-шуруповерт
Автохимия
Присадки
Промывки
Очистители
Смазки спрей
Смазки пластичные
Герметики
Средство для рук
Клей
Лакокрасочные материалы
Автошампуни
Полироли
Антифриз для тормозной системы
Масло для пропитки фильтров
Антикоррозионные составы
Прочее
Электрооборудование
Зарядные устройства
Инверторы
Конвертеры
Звуковые сигналы
Провода прикуривания
Предохранители
Противотуманные фары
Дневные ходовые огни
Электрика фаркопа
Шины и диски
Автошины
Грузовые шины
Мотошины
Камеры
Мотокамеры
Лента обода шины
Колпаки
Диски
Одежда и экипировка
Жилеты
Запчасти
Аккумуляторы
Лампы
Щетки стеклоочистителя
Гофры глушителя
Велотовары
Велосипеды
Самокаты
Велокамеры
Искать по VIN или номеру детали
Поиск по штрих-коду
Искать по VIN-номеру
Войти
Авторизация
Логин
Пароль
Напомнить пароль
Запомнить
Войти
Зарегистрироваться
Авторизоваться другим способом
Востановить пароль
Введите ваш email:
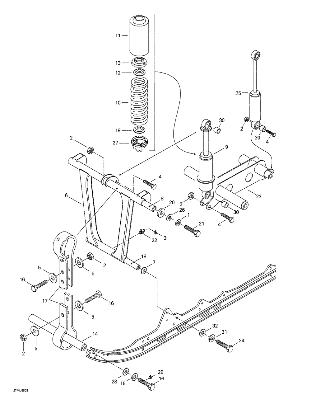
08- Front Arm Rear Suspension
Корзина пуста
SKI-DOO
Touring SLE
Touring SLE
08- Front Arm Rear Suspension
№
Наименование
Примечание
Кол-во
Spring Guide
1
SCREW-HEX.CAP 12 X 40 (5.000 per pack)
2
SPRING GUIDE Touring SLE.
1
AMORTISSEUR *SHOCK Touring SLE.
1
1
HELICOIDAL LOCK WASHER M10 (5.000 per pack)
2
2
HEX. ELASTIC STOP NUT M8 Formula Deluxe 380. (10.000 per pack)
5
4
HEX. SCREW M8 X 40 (10.000 per pack)
3
5
RONDELLE *WASHER (10.000 per pack)
4
8
ARBRE *SHAFT Formula Z 583. Formula 583 Deluxe.
1
9
CUSHION (2.000 per pack)
1
11
PROTECTOR Formula Z 583. Formula 583 Deluxe.
1
12
CAP
1
13
SPRING STOPPER
1
14
AXE *AXLE
1
15
WASHER-LOCK DIN.127B Formula Deluxe 380. (50.000 per pack)
2
16
HEX. SCREW M8 X 30 (10.000 per pack)
4
17
COURROIE ARRET *STOPPER STRAP Formula Z 583. Formula 583 Deluxe.
1
19
SPRING GUIDE
1
21
HEX. SCREW M10 X 60 (5.000 per pack)
2
22
GREASE FITTING (10.000 per pack)
2
24
HEX. SCREW M12 X 35 (10.000 per pack)
2
25
CUSHION (5.000 per pack)
1
26
FLAT WASHER 10 MM (10.000 per pack)
2
27
CAM 45
1
28
FLAT WASHER 8 MM (10.000 per pack)
2
29
LOCTITE 271 10 ML
0
30
CUSHION (5.000 per pack)
3
31
WASHER-LOCK SPRING DIN.128A-A2 (10.000 per pack)
2
32
FLAT WASHER 12 MM (10.000 per pack)
2