Оригинальные каталоги
Масла и жидкости
Масла моторные
Масла трансмиссионные
Жидкости гидравлические
Жидкости охлаждающие
Жидкости тормозные
Масла гидравлические
Масла для вилок и амортизаторов
Масла компрессорные
Жидкости для стекол
Масла для цепей бензопил
Масла индустриальные
Масла промывочные
Раствор мочевины AdBlue
Автоэлектроника
Видеорегистраторы
Пылесосы автомобильные
FM трансмиттеры
Зарядные устройства
Разветвители, удлинители прикуривателя
Кабели
Вентиляторы автомобильные
Штекер прикуривателя
Датчик парктроника
Камеры заднего вида
Мониторы парковочные
Парктроники
Термометры
Накидки на сиденье с подогревом
Автохолодильники
Антирадары
Диагностический сканер
Аксессуары
Набор автомобилиста
Ароматизаторы
Тросы буксировочные
Канистры
Ремни крепления груза
Стяжки-резинки крепления
Сетки для крепления груза
Скотч
Влажные салфетки
Держатели телефонов, планшетов
Карты памяти
Наушники
Аккумулятор холода
Термосумки и контейнеры
Фонарики
Батарейки
Оплетки на руль
Огнетушители
Салфетки, полотенца, варежки
Инструмент
Домкраты
Компрессоры
Манометры
Насосы
Светильники переносные
Шарнирно-губцевый инструмент
Ударный инструмент
Метчики. Плашки
Заклёпочники
Заклёпки
Измерительный инструмент
Свёрла
Отвёртки
Изолента
Надфили. Напильники
Ножи, ножовки
Щётки
Абразивная бумага
Специнструмент
Ключи
Хомуты
Дрель-шуруповерт
Автохимия
Присадки
Промывки
Очистители
Смазки спрей
Смазки пластичные
Герметики
Средство для рук
Клей
Лакокрасочные материалы
Автошампуни
Полироли
Антифриз для тормозной системы
Масло для пропитки фильтров
Антикоррозионные составы
Прочее
Электрооборудование
Зарядные устройства
Инверторы
Конвертеры
Звуковые сигналы
Провода прикуривания
Предохранители
Противотуманные фары
Дневные ходовые огни
Электрика фаркопа
Шины и диски
Автошины
Грузовые шины
Мотошины
Камеры
Мотокамеры
Лента обода шины
Колпаки
Диски
Одежда и экипировка
Жилеты
Запчасти
Аккумуляторы
Лампы
Щетки стеклоочистителя
Гофры глушителя
Велотовары
Велосипеды
Самокаты
Велокамеры
Искать по VIN или номеру детали
Поиск по штрих-коду
Искать по VIN-номеру
Войти
Авторизация
Логин
Пароль
Напомнить пароль
Запомнить
Войти
Зарегистрироваться
Авторизоваться другим способом
Востановить пароль
Введите ваш email:
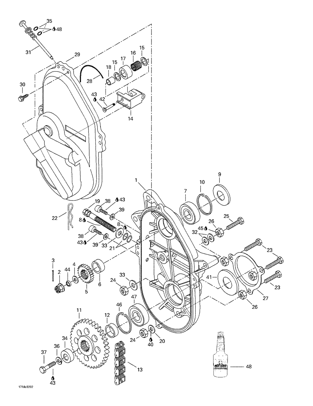
05- Chaincase
Корзина пуста
SKI-DOO
Formula Z 500/583/670
Formula Z 500/583/670
05- Chaincase
№
Наименование
Примечание
Кол-во
PIN COTTER (10.000 per pack)
1
DRIVE CHAIN 74 LINKS MX Z 670 HO.
1
ROUE DENTEE 43D*SPROCKET 43TH
1
SPROCKET 25 TEETH (LARGE) Engine 800 ETEC Package Adrenaline X Enduro
1
HEX. CASTLE NUT M20 X 1.5
1
2
HEX. CASTELLATED NUT M16 (5.000 per pack)
1
3
COTTER PIN (10.000 per pack)
1
6
SHIM
1
7
BALL BEARING
1
9
OIL SEAL
1
10
CIRCLIP (10.000 per pack)
1
11
ROUE DENTEE 43D*SPROCKET 43TH
1
12
CALE INTERIEURE*SHIM-INNER
1
13
CHAINE 72 M. *CHAIN-DRIVING Formula Deluxe 500.
1
14
MACHINED TENSIONER
1
15
RONDELLE *WASHER (10.000 per pack)
2
16
NEEDLE BEARING
1
17
ROLLER
1
18
SPACER
1
19
ADJUSTING SCREW
1
21
O-RING (10.000 per pack)
2
22
GOUP.SURETE *COTTER PIN (5.000 per pack)
1
24
ELASTIC LOCKING NUT M10 Formula DLX 500 LC. (10.000 per pack)
5
26
SPACER
5
28
O-RING
1
29
CASTING COVER
1
30
HEX. FLANGED SCREW M6 X 30 (10.000 per pack)
4
31
FILLER CAP ASS Y Includes 22 to 23
1
32
RONDELLE *WASHER (5.000 per pack)
0
33
FLAT WASHER 10 MM (10.000 per pack)
3
34
CAP
1
35
O-RING (10.000 per pack)
2
36
WASHER-LOCK SPRING DIN.128A-A2 (10.000 per pack)
1
37
HEX. SCREW M10 X 25 (10.000 per pack)
1
38
SOCKET SCREW M8 X 10 (5.000 per pack)
2
39
WASHER DIN 7603 (5.000 per pack)
2
40
LOCTITE 515 50 ML
0
41
ANNEAU ETANCHE *OIL SEAL ASS Y
1
42
SCREW
1
43
LOCTITE 271 10 ML
0
44
RONDELLE RES. *SPRING WASHER (10.000 per pack)
1
45
LOCTITE 243 10 ML
0
47
ROULEMENT BILLE*BALL BEARING
1
48
HUILE *XPS SYNTH OIL CHAINCASE OIL (16.000 per pack)
0