| № | Наименование | Примечание | Кол-во |
|---|---|---|---|
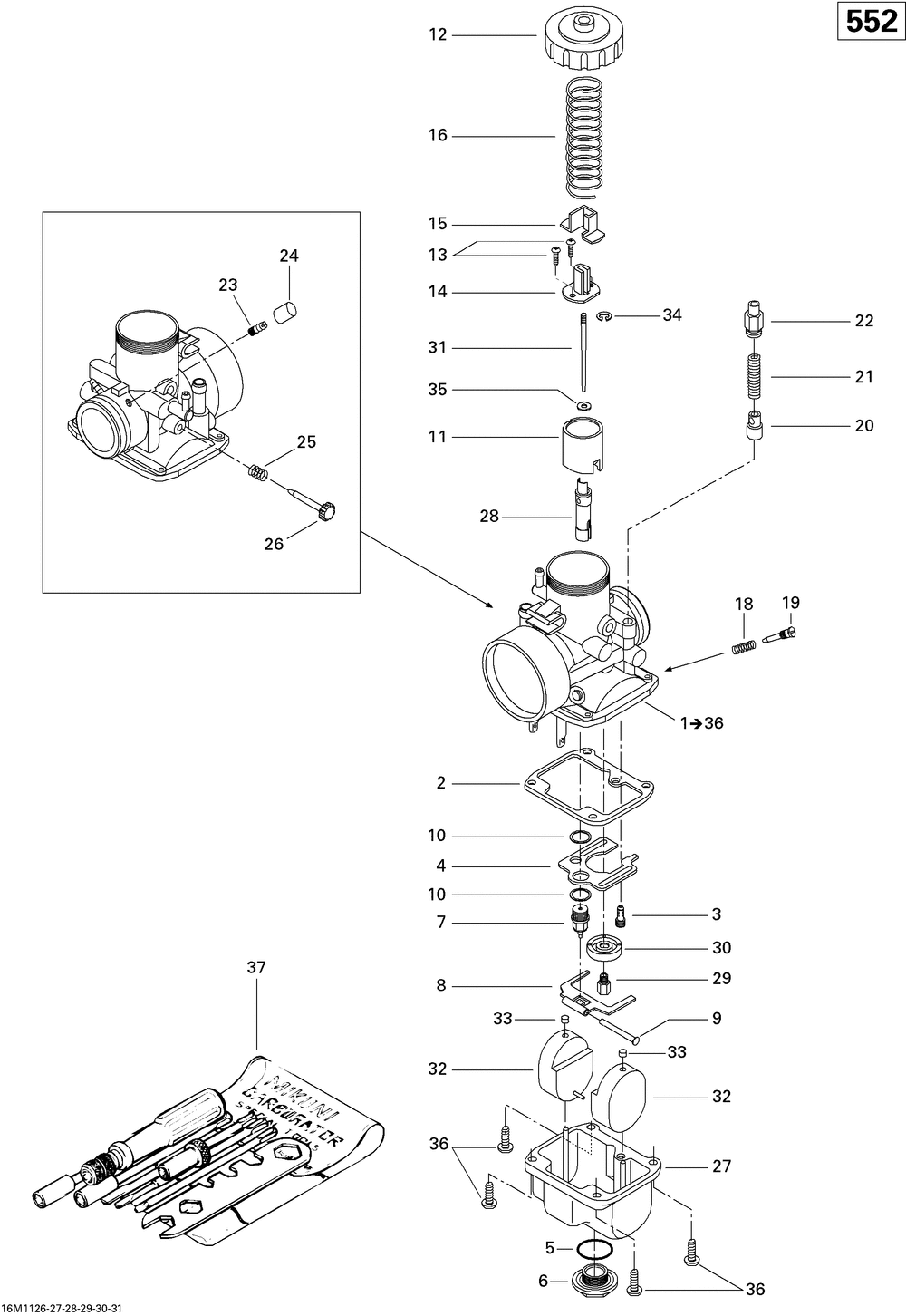
| 1 | CARBURETOR VM30-218 MAG | 1 | |
| 1 | CARBURETOR VM30-219 PTO | 1 | |
| 2 | JOINT *GASKET (5.000 per pack) | 1 | |
| 3 | PILOT JET 35 PTO Side | 1 | |
| 5 | O-RING (5.000 per pack) | 1 | |
| 6 | DRAIN PLUG SCREW | 1 | |
| 7 | NEEDLE VALVE 1.2 | 1 | |
| 8 | FLOAT LEVER | 1 | |
| 9 | LEVER PIN (5.000 per pack) | 1 | |
| 10 | SEAT WASHER (5.000 per pack) | 2 | |
| 11 | PISTON VALVE 2.5 | 1 | |
| 12 | COUVERCLE CARB.*TOP-MIX.CHAMB. | 1 | |
| 13 | SCREW WITH WASHER (5.000 per pack) | 2 | |
| 14 | PACKING | 1 | |
| 15 | COVER | 1 | |
| 16 | SPRING | 1 | |
| 18 | SPRING (5.000 per pack) | 1 | |
| 19 | AIR SCREW | 1 | |
| 20 | PLUNGER ASS Y PTO Side | 1 | |
| 21 | SPRING PTO Side | 1 | |
| 22 | GUIDE HOLDER MAG Side | 1 | |
| 22 | GUIDE HOLDER PTO Side | 1 | |
| 23 | NIPPLE | 1 | |
| 24 | CAP | 1 | |
| 25 | SPRING (5.000 per pack) | 1 | |
| 26 | IDLE SPEED SCREW | 1 | |
| 27 | FLOAT BODY PTO Side | 1 | |
| 28 | NEEDLE JET | 1 | |
| 29 | MAIN JET 190 MAG Side | 1 | |
| 29 | MAIN JET MJ 200 PTO Side | 1 | |
| 31 | NEEDLE J8-6BFY46 | 1 | |
| 33 | CAP (5.000 per pack) | 2 | |
| 34 | E-RING (2.000 per pack) | 1 | |
| 35 | JOINT TAMPON *PACKING (5.000 per pack) | 1 | |
| 36 | SCREW WITH LOCK WASHER (5.000 per pack) | 4 | |
| 37 | TOOL KIT | 1 |
