| № | Наименование | Примечание | Кол-во |
|---|---|---|---|
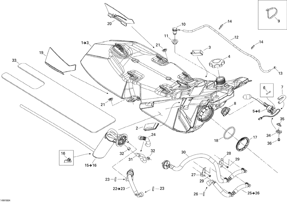
| 1 | FUEL TANK ASS Y Includes 1 to 3 | 1 | |
| 2 | RH PANEL CLIP | 1 | |
| 3 | LH PANEL CLIP | 1 | |
| 4 | FUEL TANK CAP | 1 | |
| 5 | FUEL LEVEL SENSOR ASS Y Includes 5 to 6 | 1 | |
| 6 | FUSE 0.5 AMPÈRE | 1 | |
| 7 | TUBING 10 MM | 0 | |
| 8 | PASSE-FILS *GROMMET | 1 | |
| 9 | Tie-Rap 350 mm | 1 | |
| 10 | CHECK VALVE | 1 | |
| 11 | GROMMET | 1 | |
| 12 | Hose, Polyurethane | 1 | |
| 13 | Spring Clamp | 1 | |
| 14 | Tie-Rap 180 mm | 0 | |
| 15 | FUEL PUMP ASS Y Includes 15 to 16 | 1 | |
| 16 | FUEL FILTER | 1 | |
| 17 | RING | 1 | |
| 18 | GASKET | 1 | |
| 19 | CAPUCHON DROIT *R.H. CAP | 1 | |
| 20 | CAPUCHON GAU. *L.H. CAP BOM | 1 | |
| 21 | SHOULDER BUSHING | 2 | |
| 22 | BOYAU ASSEMBLE *HOSE ASS`Y Includes 21 to 22 | 1 | |
| 23 | LOCKING CLIP (2.000 per pack) | 2 | |
| 24 | TUBING 16 MM | 1 | |
| 25 | BOYAU ASSEMBLE *HOSE ASS`Y Includes 19 To 19a | 1 | |
| 27 | ATTACHE *BRACKET | 1 | |
| 28 | ATTACHE *BRACKET | 1 | |
| 29 | Flanged Hex. Screw M5 X 10 | 2 | |
| 30 | BOYAU ASSEMBLE *HOSE ASS`Y 600HO E-TEC | 1 | |
| 31 | FORMED HOSE | 1 | |
| 32 | Crimp Clamp | 2 | |
| 33 | INSULATING FOAM | 1 | |
| 34 | CLIP (5.000 per pack) | 1 | |
| 35 | Tie-Rap 142 mm | 1 | |
| 36 | POP RIVET 3/16" (50.000 per pack) | 1 |
