| № | Наименование | Примечание | Кол-во |
|---|---|---|---|
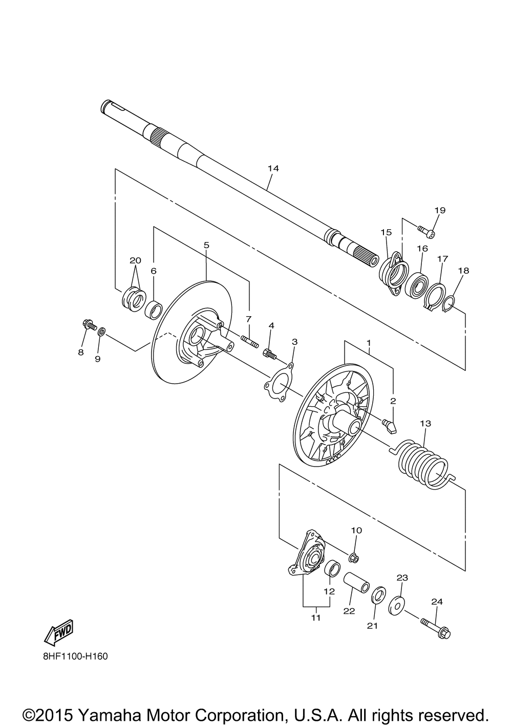
| 1 | SECONDARY FIXED SHEA | 1 | |
| 2 | SHOE RAMP | 3 | |
| 3 | STOPPERHOLDER | 1 | |
| 4 | BOLTSOCKET | 3 | |
| 5 | SEC SLIDING SHEAVE | 1 | |
| 6 | BUSHBIMETAL FORM | 1 | |
| 7 | BOLTSTUD 3 | 3 | |
| 8 | BOLTWASHER BASED | 3 | |
| 9 | WASHERPLATE (T=1.0) UR UN | 3 | |
| 9 | WASHER PLATE (T=0.5) | 3 | |
| 10 | NUTSPEC'L SHAPE | 3 | |
| 11 | SEAT SPRING SET | 1 | |
| 13 | SPRING TORSION UR (WHITE) | 1 | |
| 14 | SHAFT SECONDARY | 1 | |
| 15 | HOUSING BEARING | 1 | |
| 16 | BEARING | 1 | |
| 17 | CIRCLIP 54G | 1 | |
| 18 | CIRCLIP | 1 | |
| 19 | SCREW | 2 | |
| 20 | WASHERPLATE (T2.0) (USA) | 2 | |
| 21 | WASHERPLATE (T=0.5) UN | 1 | |
| 21 | WASHERPLATE (T=1.0) | 3 | |
| 22 | COLLAR | 1 | |
| 23 | WASHER PLATE | 1 | |
| 24 | BOLTWASHER BASED | 1 |
