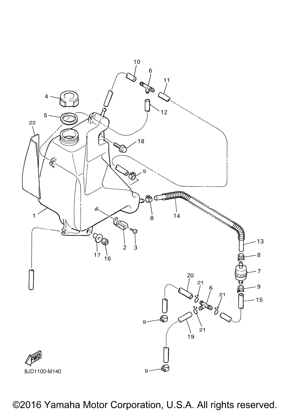
| № | Наименование | Примечание | Кол-во |
|---|---|---|---|
| 1 | TANKOIL | 1 | |
| 2 | CLAMP | 1 | |
| 3 | SCREWBIND (5 per pack) | 1 | |
| 4 | BODYCAP | 1 | |
| 5 | GASKET | 1 | |
| 6 | PIPEJOINT 1 | 2 | |
| 7 | STRAINER HSNG ASY | 1 | |
| 8 | CLIPSCISSOR | 2 | |
| 9 | CLIPSCISSOR FOR CAL | 4 | |
| 10 | TUBE FLEXIBLE 8AV | 1 | |
| 11 | TUBE FLEXIBLE 8AT | 1 | |
| 12 | TUBE FLEXIBLE 8AT | 1 | |
| 13 | HOSE | 1 | |
| 14 | PROTECTORPIPE | 1 | |
| 15 | TUBE FLEXIBLE 8AV | 1 | |
| 16 | NUTU | 1 | |
| 17 | COLLAR | 2 | |
| 18 | BOLTFLANGE | 1 | |
| 19 | TUBEFLEX VINYL | 1 | |
| 20 | TUBEFLEX VINYL | 1 | |
| 21 | CLIPSCISSOR | 3 | |
| 22 | DAMPER | 1 |
