| № | Наименование | Примечание | Кол-во |
|---|---|---|---|
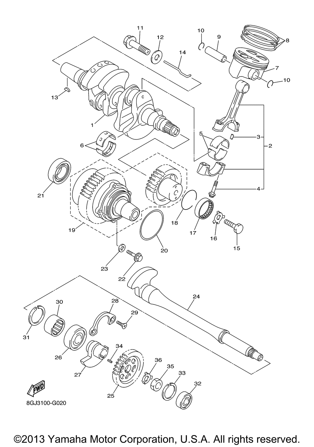
| 1 | CRANKSHAFT | 1 | |
| 2 | CONNECTING ROD ASSY | 2 | |
| 3 | PINDOWEL (5 per pack) | 2 | |
| 4 | BOLT CONNECTING ROD | 2 | |
| 5 | PLANE BEARING CONNE UR RED-BLUE | 4 | |
| 5 | PLANE BEARING CONNE UR RED-BLACK | 4 | |
| 5 | PLANE BEARING CONNE UR RED-BROWN | 4 | |
| 5 | PLANE BEARING CONNE UR RED-WHITE | 4 | |
| 6 | PLANE BEARING CRANK UR GREEN | 6 | |
| 6 | PLANE BEARING CRANK UR BLUE | 6 | |
| 6 | PLANE BEARING CRANK UR BLACK | 6 | |
| 6 | PLANE BEARING CRANK UR BROWN | 6 | |
| 6 | PLANE BEARING CRANK UR WHITE | 6 | |
| 7 | PISTON (STD) (STD) | 2 | |
| 8 | PISTON RING SET (STD (STD) | 2 | |
| 9 | PIN PISTON | 2 | |
| 10 | CLIP | 4 | |
| 11 | BOLT FLANGE | 1 | |
| 12 | WASHERPLATE | 1 | |
| 13 | KEYWOODRUFF | 1 | |
| 14 | SHAFT 1 | 1 | |
| 15 | BOLT | 1 | |
| 16 | WASHER LOCK | 1 | |
| 17 | BEARING | 1 | |
| 18 | CIRCLIPINNER | 1 | |
| 19 | DRIVE GEAR SET | 1 | |
| 20 | O-RING (5 per pack) | 1 | |
| 21 | BEARING | 1 | |
| 22 | BOLTFLANGE | 4 | |
| 23 | GASKET (5 per pack) | 4 | |
| 24 | SHAFT BALANCER 1 | 1 | |
| 25 | GEAR BALANCE WEIGHT | 1 | |
| 26 | BEARING | 1 | |
| 27 | WEIGHT 1 | 1 | |
| 28 | PLATE BEARING COVER | 1 | |
| 29 | Винт плоский под звездочку | 2 | |
| 30 | BEARING CYL.(3YL) | 1 | |
| 31 | CIRCLIPR-TYPE | 1 | |
| 32 | BEARING | 1 | |
| 33 | CIRCLIP | 1 | |
| 34 | KEY STRAIGHT | 1 | |
| 35 | NUT | 1 | |
| 36 | WASHER LOCK | 1 |
