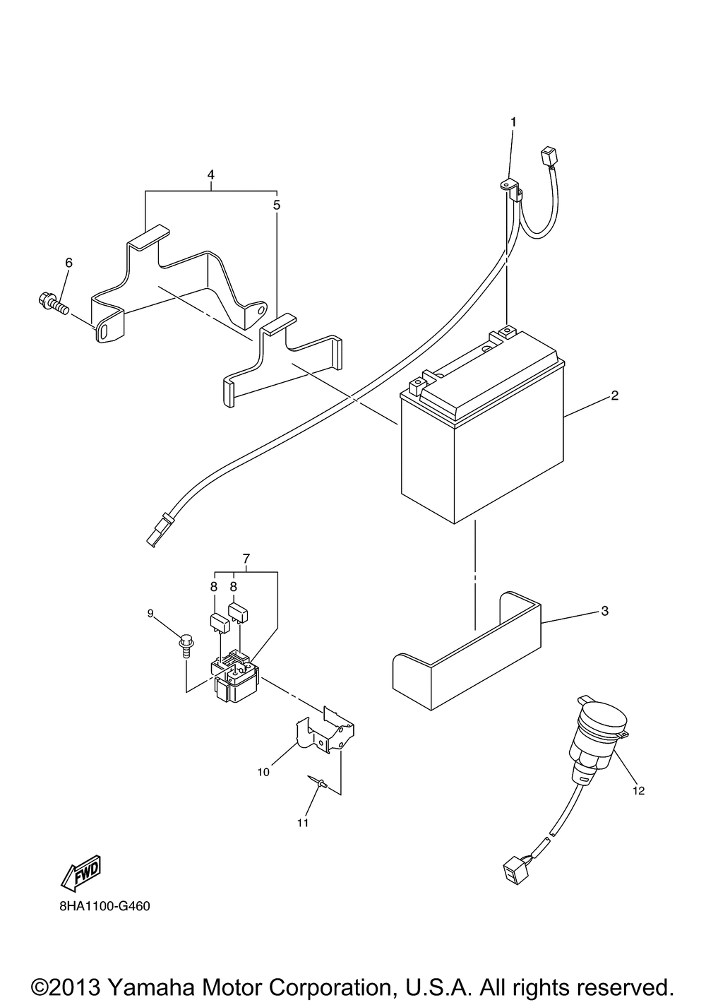
| № | Наименование | Примечание | Кол-во |
|---|---|---|---|
| 1 | WIRE MINUS LEAD | 1 | |
| 2 | YTX20LBS YUASA BATT (YUASA YTX20L-BS) | 1 | |
| 3 | SEAT BATTERY | 1 | |
| 4 | BRACKET BATTERY | 1 | |
| 5 | DAMPER | 1 | |
| 6 | BOLT FLANGE | 2 | |
| 7 | STARTER RELAY ASSY (RC19-016) | 1 | |
| 8 | FUSE (10A-BL) (10A-BL) (10 per pack) | 2 | |
| 9 | BOLT FLANGE | 2 | |
| 10 | STAY RELAY | 1 | |
| 11 | RIVET BLIND (4.7X16.4 YELLOW) | 2 | |
| 12 | TERMINAL COMP. | 1 |
