| № | Наименование | Примечание | Кол-во |
|---|---|---|---|
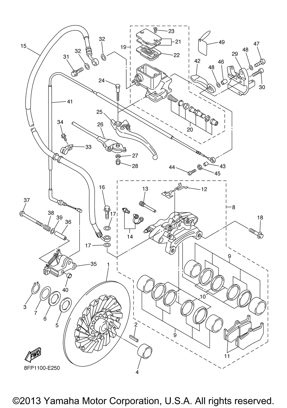
| 1 | DISK BRAKE ASSY | 1 | |
| 2 | KEY STRAIGHT | 1 | |
| 3 | CIRCLIP S-TYPE | 1 | |
| 4 | COLLAR | 1 | |
| 5 | COLLAR | 1 | |
| 6 | WASHERPLATE (T1.0) UN | 2 | |
| 7 | WASHERPLATE (T0.5) UN | 2 | |
| 8 | CALIPER ASSY (LEFT) (LEFT) | 1 | |
| 9 | PISTON ASSY CALIPER | 2 | |
| 10 | CALIPER SEAL KIT | 1 | |
| 11 | BRAKE PAD KIT 2 | 1 | |
| 12 | SUPPORT PAD | 1 | |
| 13 | PIN PAD | 1 | |
| 14 | BLEED SCREW KIT | 2 | |
| 15 | HOSE BRAKE 1 | 1 | |
| 16 | BOLTUNION(3GM) | 1 | |
| 17 | WASHERPLATE (5 per pack) | 2 | |
| 18 | BOLT FLANGE | 2 | |
| 19 | MASTER CYLINDER SUB | 1 | |
| 20 | CYL KITMASTER | 1 | |
| 21 | RESERVOIR CAP SET | 1 | |
| 22 | DIAPHRAGMRESERVOR | 1 | |
| 23 | SCREWFLAT (5 per pack) | 2 | |
| 24 | BOLT LEVER | 1 | |
| 25 | LEVER 1 ADJUSTABLE | 1 | |
| 26 | STOP SWITCH ASSY | 1 | |
| 27 | WASHER PLAIN | 1 | |
| 28 | NUT FLANGE (4GB) | 1 | |
| 29 | BRACKET MASTER CYLI | 1 | |
| 30 | BOLT (4MY) | 2 | |
| 33 | HOLDER BRAKE HOSE | 1 | |
| 34 | BOLT (5 per pack) | 1 | |
| 35 | PARKING BRAKE COMP. | 1 | |
| 36 | COLLAR | 2 | |
| 37 | BOLT | 2 | |
| 38 | SPRING COMPRESSION | 2 | |
| 39 | WASHERPLATE | 2 | |
| 40 | COLLAR | 2 | |
| 41 | CABLE BRAKE | 1 | |
| 42 | LEVER 2 | 1 | |
| 43 | COLLAR | 1 | |
| 44 | BOLTBUTTON | 1 | |
| 45 | WASHERPLATE | 1 | |
| 46 | COLLAR | 1 | |
| 47 | BOLTBUTTON | 1 | |
| 48 | WASHERPLATE (USA) | 2 | |
| 49 | TAG CAUTION | 1 |
