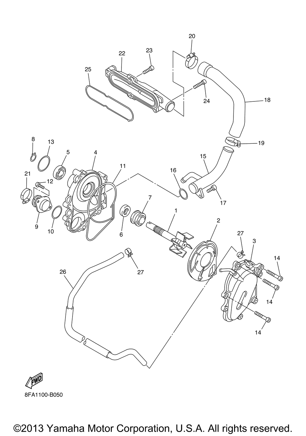
| № | Наименование | Примечание | Кол-во |
|---|---|---|---|
| 1 | IMPELLER SHAFT ASSY | 1 | |
| 2 | COVER IMPELLER | 1 | |
| 3 | COVER HOUSING | 1 | |
| 4 | HOUSING WATER PUMP | 1 | |
| 5 | BEARING | 1 | |
| 6 | OIL SEALS-TYPE | 1 | |
| 7 | SEAL MECHANICAL | 1 | |
| 8 | CIRCLIP | 1 | |
| 9 | JOINT 2 | 1 | |
| 10 | O-RING | 1 | |
| 11 | O-RING | 1 | |
| 12 | SCREW TAPPING | 4 | |
| 13 | O-RING (22F) | 1 | |
| 14 | BOLT (4MY) | 3 | |
| 15 | PIPE 1 | 1 | |
| 16 | O-RING | 1 | |
| 17 | BOLT (4MY) | 1 | |
| 18 | HOSE 8 | 1 | |
| 19 | HOSE CLAMP ASSY | 1 | |
| 20 | HOSE CLAMP ASSY | 1 | |
| 22 | JOINT 1 | 1 | |
| 23 | BOLT (4FL) | 3 | |
| 25 | GASKET | 1 | |
| 26 | PIPE 5 | 1 | |
| 27 | CLIPSCISSOR | 2 |
