| № | Наименование | Примечание | Кол-во |
|---|---|---|---|
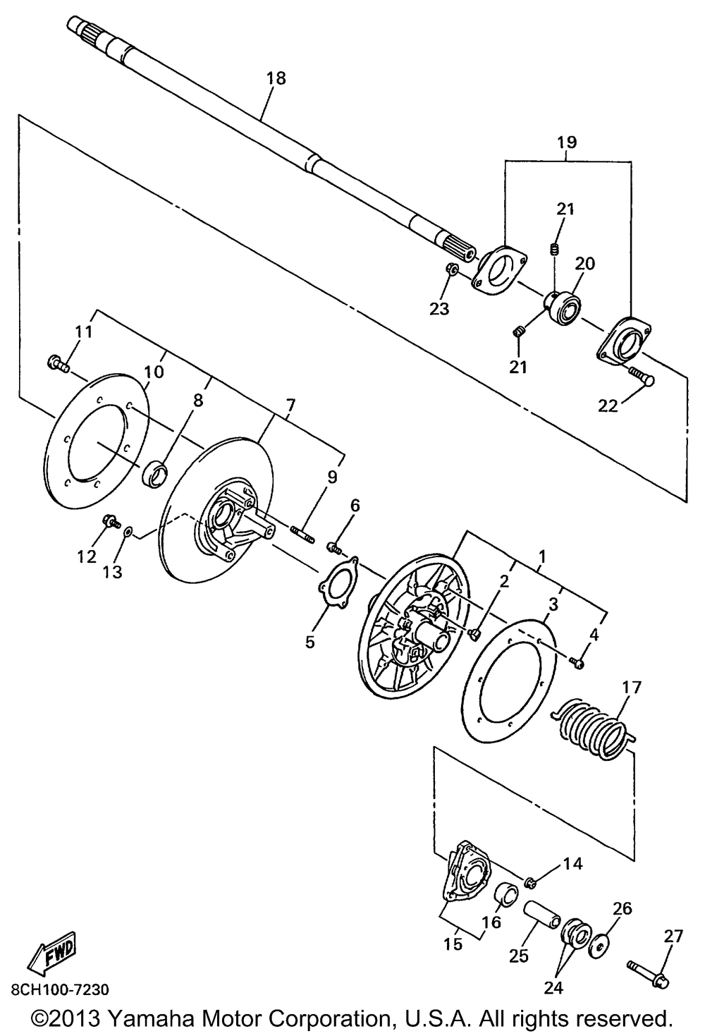
| 1 | SEC FXD SHV UR | 1 | |
| 2 | SHOE RAMP UR | 3 | |
| 3 | PLATE 1 UR | 1 | |
| 4 | SCREWPANHEAD(JN2 | 6 | |
| 5 | STOPPERHOLDER | 1 | |
| 6 | BOLTSOCKET | 3 | |
| 7 | SECONDARY SLID. SHEA UR | 1 | |
| 8 | BUSHBIMETAL FORM | 1 | |
| 9 | BOLTSTUD 3 | 3 | |
| 10 | PLATE 2 UR | 1 | |
| 12 | BOLTWASHER BASED | 3 | |
| 13 | WASHERPLATE (T=1.0) UR UN | 3 | |
| 13 | WASHER PLATE (T=0.5) | 3 | |
| 14 | NUTSPEC'L SHAPE | 3 | |
| 15 | SEAT SPRING SET VT700C | 1 | |
| 15 | SEAT SPRING SET UR | 1 | |
| 17 | SPRINGTORSION UR (RED) | 1 | |
| 17 | SPRINGTORSION UR (GREEN) | 1 | |
| 18 | SHAFT SECONDARY | 1 | |
| 19 | HOUSINGBEARING | 1 | |
| 20 | BEARING (8CJ) | 1 | |
| 21 | BOLT SET | 2 | |
| 22 | BOLT | 2 | |
| 23 | Гайка с фланцем | 2 | |
| 24 | WASHERPLATE (T=0.5) UN | 1 | |
| 24 | WASHERPLATE (T=1.0) | 1 | |
| 25 | COLLAR | 1 | |
| 26 | WASHER PLATE | 1 | |
| 27 | BOLTWASHER BASED | 1 |
