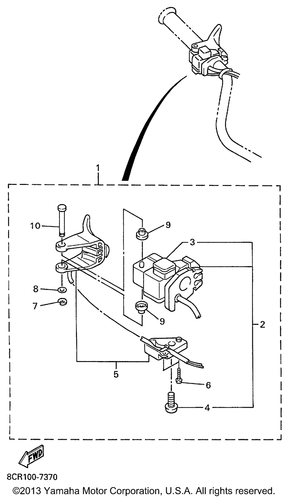
| № | Наименование | Примечание | Кол-во |
|---|---|---|---|
| 1 | LEVER HOLDER ASY 2 (RIGHT) (8EA3) | 1 | |
| 2 | SWITCHHANDLE 3 (RIGHT) | 1 | |
| 3 | EMERGENCY SAFETYSW WIRE/L=240MM (USA) | 1 | |
| 4 | SCREW ADJUSTING | 1 | |
| 5 | THUMB WARMER ASSY (8EA3) | 1 | |
| 6 | SCREW TRUSTHEAD TAP | 2 | |
| 7 | CLIP | 1 | |
| 8 | WASHER SPECIAL | 1 | |
| 9 | CAP 1 | 2 | |
| 10 | SHAFT | 1 |
