| № | Наименование | Примечание | Кол-во |
|---|---|---|---|
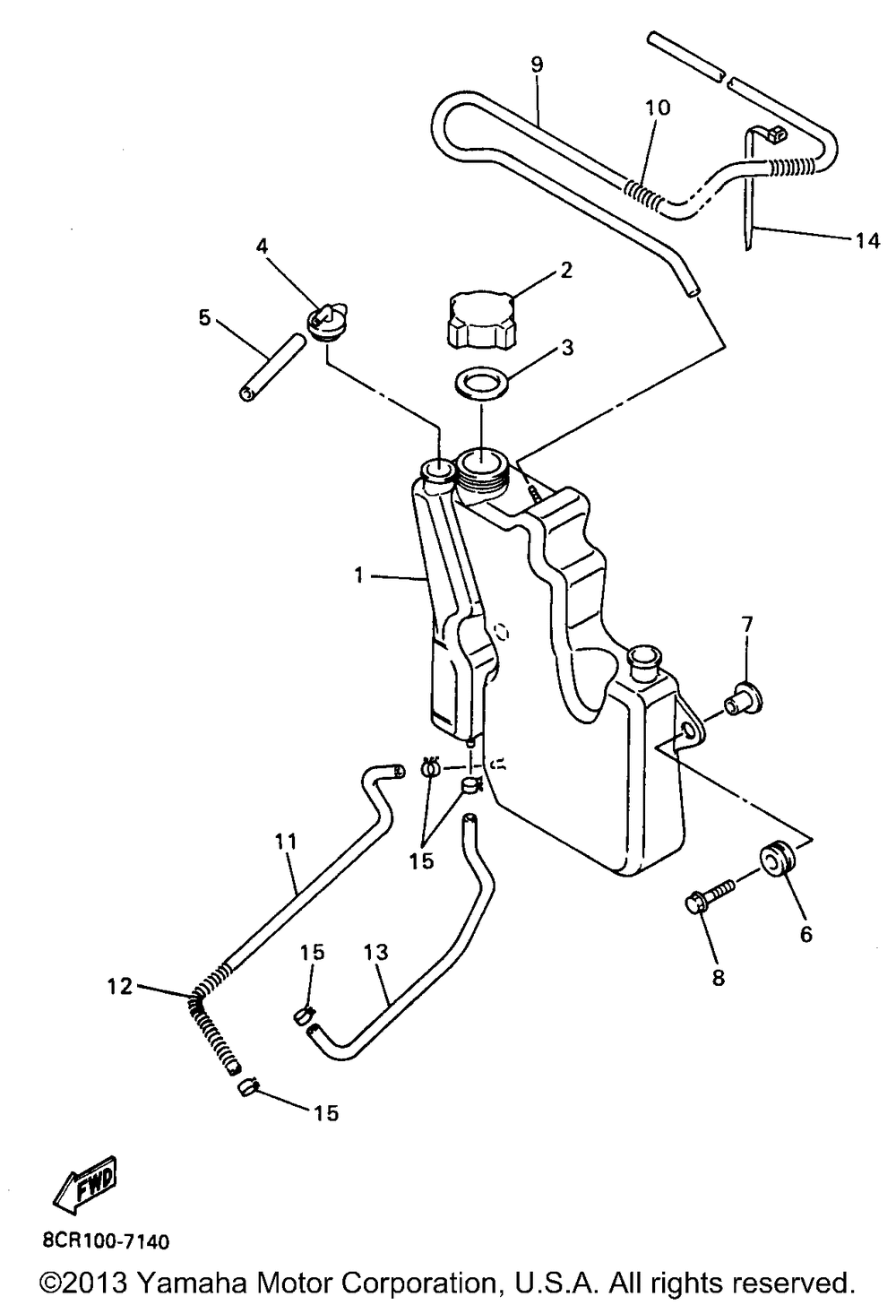
| 1 | TANKOIL | 1 | |
| 2 | BODYCAP | 1 | |
| 3 | GASKET | 1 | |
| 4 | CAP | 1 | |
| 5 | HOSE (L10) (5 per pack) | 1 | |
| 6 | GROMMET (5 per pack) | 2 | |
| 7 | COLLAR (56R) | 2 | |
| 8 | BOLTFLANGE | 2 | |
| 9 | TUBE FLEXIBLE 8AT | 1 | |
| 10 | SPRINGCOMPRESSION | 1 | |
| 11 | TUBE FLEXIBLE (USA) | 1 | |
| 12 | SPRINGCOMPRESSION | 2 | |
| 13 | HOSE (L500) | 1 | |
| 14 | Хомут | 1 | |
| 15 | CLIPSCISSOR FOR CAL | 4 |
