| № | Наименование | Примечание | Кол-во |
|---|---|---|---|
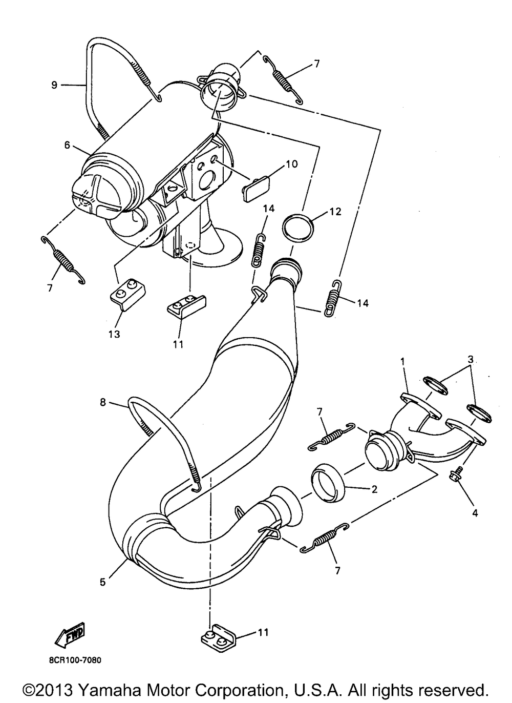
| 1 | EXHAUST PIPE ASY L (USA) | 1 | |
| 2 | GSKT MUFFLER | 1 | |
| 3 | GASKETEXHAUST PIPE | 2 | |
| 4 | BOLTFLANGE(8AB) | 4 | |
| 5 | EXHAUST PIPE ASSY 2 | 1 | |
| 6 | SECOND SILENCERMUFF | 1 | |
| 7 | SPRINGTENSION | 4 | |
| 8 | SPRINGTENSION (USA) | 1 | |
| 9 | SPRINGTENSION | 1 | |
| 10 | PROTECTERMUFF 2 (USA) | 1 | |
| 11 | PROTECTOR MUFF 1 | 2 | |
| 12 | RING EXHAUST (USA) | 1 | |
| 13 | PROTECTOR MUFFLER | 1 | |
| 14 | SPRINGTENSION | 2 |
