| № | Наименование | Примечание | Кол-во |
|---|---|---|---|
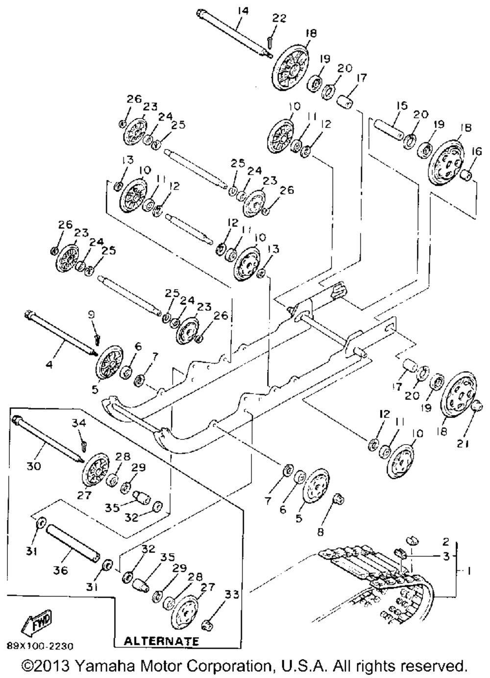
| 1 | TRACK ASY | 1 | |
| 2 | PLATERNFCMNT | 54 | |
| 4 | SHAFT MOD KT PZ480 (80X-47487-00-00) | 1 | |
| 5 | SUSPENSION WHEEL | 2 | |
| 6 | BEARING | 2 | |
| 7 | CIRCLIP | 2 | |
| 8 | NUT SELF-LOCKING | 1 | |
| 9 | PINCOTTER (5 per pack) | 1 | |
| 13 | CIRCLIP (5 per pack) | 2 | |
| 14 | REAR AXLE | 1 | |
| 15 | COLLAR (USA) | 1 | |
| 16 | COLLAR (USA) | 1 | |
| 17 | COLLAR (USA) | 2 | |
| 18 | GUIDE WHEEL | 3 | |
| 19 | BEARING | 3 | |
| 20 | CIRCLIP | 3 | |
| 23 | SUSPENSION WHEEL | 4 | |
| 35 | COLLAR AP (USA) | 2 | |
| 36 | COLLAR AP (USA) | 1 |
