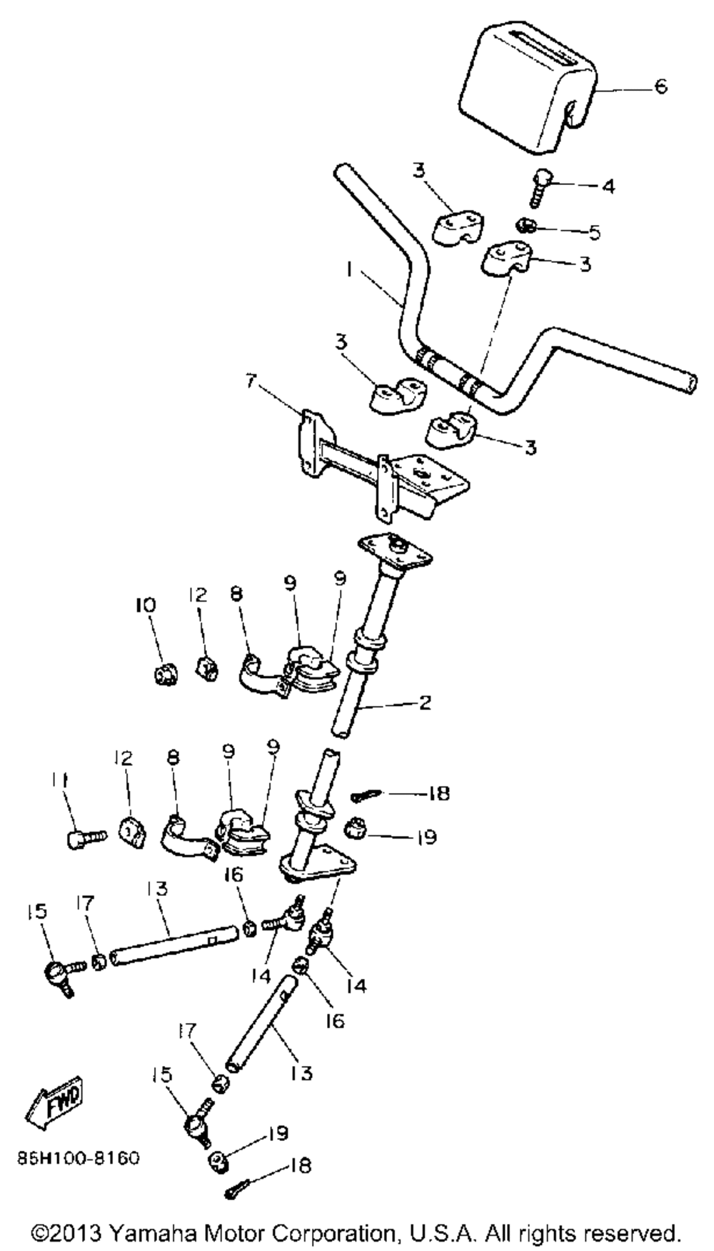
| № | Наименование | Примечание | Кол-во |
|---|---|---|---|
| 1 | HANDLEBAR | 1 | |
| 2 | COLUMNSTEERING 2 | 1 | |
| 3 | HOLDERHANDLE UPR | 4 | |
| 4 | BOLT | 4 | |
| 5 | WASHERSPRING | 4 | |
| 6 | COVERSTEERING | 1 | |
| 7 | STAYHEADLIGHT | 1 | |
| 8 | BRKTSTEERING LWR | 2 | |
| 9 | BEARINGSTEERING | 4 | |
| 10 | NUTLOCK | 2 | |
| 11 | BOLT | 2 | |
| 12 | WASHER LOCK 1 | 4 | |
| 13 | RODSTEERING RELAY | 1 | |
| 14 | JOINTUNIVERSAL 1 | 1 | |
| 15 | JOINTUNIVERSAL 2 | 1 | |
| 16 | NUT | 1 | |
| 17 | NUTHEXAGON (L/H THR | 1 | |
| 18 | PINCOTTER (5 per pack) | 4 | |
| 19 | NUTSELF-LOCKING | 4 |
